

<!DOCTYPE html>
<html lang="uz-Latn-UZ">
<head>
    
   <!-- Global site tag (gtag.js) - Google Analytics -->
   <script async src="https://www.googletagmanager.com/gtag/js?id=UA-2682682-1"></script>
   <script>
      window.dataLayer = window.dataLayer || [];
      function gtag() { dataLayer.push(arguments); }
      gtag('js', new Date());
      gtag('config', 'UA-2682682-1');
   </script>

    <title>&nbsp;409-сон 28.08.2004.&nbsp;О совершенствовании организации деятельности Агентства по внешним экономическим связям Республики Узбекистан</title>
    
<meta charset="utf-8" />
<meta name="viewport" content="width=device-width, initial-scale=1">
<meta name="google" content="notranslate">
<meta http-equiv="x-ua-compatible" content="ie=edge">
    <link href="/bundle/css2?v=hfXMtIpJSTsgRI6noMnjaAUnuQ3C3QYLsi_M8Iq_Lso1" rel="stylesheet"/>

    <script src="/bundle/js2?v=QraD5bV-4TFMZdAP5vDS2YO37mUOx2pgM4omse-fwOY1"></script>

    <link href="/bundle/css_actform?v=E2H5feooh50MK4BN8LKb-BQOM3rTyLoFxEQduTgJFcU1" rel="stylesheet"/>

    
    <script type="text/javascript" src="https://www.google.com/recaptcha/api.js?onload=onloadCallback&render=explicit" async defer></script>
    
    <style>
        .lx_revive_adserver.lx_adv_doc {
            margin-left: auto;
            margin-right: auto;
            z-index: 998;
        }

        #lx_gte {
            line-height: 1;
            background-color: #0064A9;
            border: solid 4px #0064A9;
            border-radius: 4px;
            padding: 2px 4px 0;
            margin: 0 0 0 4px;
        }

            #lx_gte img {
                max-width: 19px;
            }

            #lx_gte #google_translate_element {
                margin-bottom: 4px;
            }

            #lx_gte .lx_ot {
                font-size: 12px;
                color: #fff;
                text-align: center;
            }

            #lx_gte .goog-te-gadget-simple {
                width: 100%;
                padding: 2px 1px 2.5px 1px !important;
            }

                #lx_gte .goog-te-gadget-simple > span {
                    display: inline-block;
                }

                    #lx_gte .goog-te-gadget-simple > span > a {
                        display: inline-block;
                        margin: 0;
                    }

                        #lx_gte .goog-te-gadget-simple > span > a > span {
                            display: none;
                        }

                            #lx_gte .goog-te-gadget-simple > span > a > span:first-of-type {
                                display: inline;
                            }

                #lx_gte .goog-te-gadget-simple:hover {
                    color: #fff;
                    background-color: #0064A9;
                }

                    #lx_gte .goog-te-gadget-simple:hover a {
                        color: #fff;
                        background-color: #0064A9;
                        text-decoration: none;
                    }

        .toc_show {
            display: block !important;
        }

            .toc_show .fas {
                display: none !important;
            }

        .toc_hide {
            display: none !important;
        }

        .show_context {
            background-color: #FFFF00;
            color: inherit;
        }

        .act_warning {
            color: red;
        }

        .lx_date_ddm {
            padding: 0 !important;
            width: 170px !important;
            max-height: 70vh !important;
            overflow-y: auto !important;
        }

            .lx_date_ddm > div {
                padding: 5px 20px !important;
                margin-bottom: 0 !important;
            }

        .lx_date_selected {
            cursor: default;
            color: gray;
        }

        .lx_date_link:hover {
            cursor: pointer;
            background: #0064a9;
            color: #fff;
        }

        .docContentHeader__item-link .icon {
            height: 25px;
            fill: #0064a9;
        }

            .docContentHeader__item-link .icon.sm {
                height: 17px;
            }

        .docContentHeader__item-link:hover .icon {
            fill: #fff;
        }

        .lx_text_on_other_lang {
            margin: 12px 0 8px 0;
            padding: 8px 16px;
            color: black;
            background-color: #fef1e1;
            font-style: italic;
        }

        #lxPlayButton {
            display: none;
            position: absolute;
            background-color: #007bff;
            color: white;
            border: none;
            border-radius: 5px;
            cursor: pointer;
            font-size: 18px;
            width: 32px;
            height: 32px;
            margin: 0;
            padding: 0;
            z-index: 1000;
        }

            #lxPlayButton:focus {
                outline: none;
            }

        #divCont a.lx_next_ver {
            margin: 4px 0px;
            padding: 4px 16px;
            color: #ffffff;
            background-color: #0064a9;
            border-radius: 16px;
            display: inline-block;
            text-align: center;
            text-indent: initial;
        }

            #divCont a.lx_next_ver:hover {
                color: #ffffff;
            }

        @media (max-width:720px) {
            #divCont a.lx_next_ver {
                display: block;
            }
        }
    </style>

    
    <style>
        /*#divCont > div {
            overflow-x: auto;
            max-width: calc(100vw - 42px);
            padding-right: 30px;
        }*/

        /* .TABLE_STD, .BY_DEFAULT {
            overflow-y: auto;
            max-height: 80vh;
        }*/
    </style>
    
</head>
<body class="sidebar-show">
    
    <div class="wrapper">
        
        <div id="lx_adv_doc" class="lx_revive_adserver lx_adv_doc">
            

<script type='text/javascript'><!--//<![CDATA[
    var m3_u = (location.protocol == 'https:' ? 'https://rk.adolatmarkazi.uz/www/delivery/ajs.php' : 'http://rk.adolatmarkazi.uz/www/delivery/ajs.php');
    var m3_r = Math.floor(Math.random() * 99999999999);
    if (!document.MAX_used) document.MAX_used = ',';
    document.write("<scr" + "ipt type='text/javascript' src='" + m3_u);
    document.write("?zoneid=6");
    document.write('&amp;cb=' + m3_r);
    if (document.MAX_used != ',') document.write("&amp;exclude=" + document.MAX_used);
    document.write(document.charset ? '&amp;charset=' + document.charset : (document.characterSet ? '&amp;charset=' + document.characterSet : ''));
    document.write("&amp;loc=" + escape(window.location));
    if (document.referrer) document.write("&amp;referer=" + escape(document.referrer));
    if (document.context) document.write("&context=" + escape(document.context));
    document.write("'><\/scr" + "ipt>");
    //]]>--></script>

        </div>
        
        <header id="doc_header" class="header">
            <div class="header__top">
                <div class="container">
                    <div id="lx_lact_num_top">
                        
                            <span>Акт утратил силу&nbsp;26.07.2005</span>
                        
                        от 28.08.2004 г. № 409
                    </div>
                    <div class="header__top-right">
                        <div class="header__icons">
                            
                            <div class="header__icon">
                                <a target="_blank" href="https://t.me/lexuzofficial"><i class="fab fa-telegram-plane"></i></a>
                            </div>
                            <div class="header__icon">
                                <a target="_blank" href="https://www.facebook.com/minjustuz"><i class="fab fa-facebook-f"></i></a>
                            </div>
                            <div class="header__icon">
                                <a target="_blank" href="https://www.instagram.com/adliyanews/"><i class="fab fa-instagram-square"></i></a>
                            </div>
                            <div class="header__icon">
                                <a target="_blank" href="https://www.youtube.com/c/adliya"><i class="fab fa-youtube"></i></a>
                            </div>
                            
                        </div>
                    </div>
                </div>
            </div>
            <div class="header__bottom">
                <div class="container">
                    <div class="header__bottom-left w-100 skiptranslate">
                        <a class="header__logo" href="/">
                            <img src="/assets/img/lex_uz.svg">
                        </a>
                        <div class="docBody__content ml-4 docBody_top-nav">
                            <div class="docContentHeader">
                                <div class="docContentHeader__item docContentHeader__item-mobile-left docContentHeader__item--action">
                                    
                                    <div class="docContentHeader__item-link lx_border_left" id="docContent__sideBar-show" title="Mundarijani ko’rsatish">
                                        <i class="fas fa-bars"></i>
                                    </div>
                                    <div class="docContentHeader__item-link" onclick="addToFavorite()" title="Tanlanganlarga qo‘shish">
                                        <i class="far fa-star"></i>
                                    </div>
                                    
                                    <div class="dropdown docContentHeader__item-link-dropdown">
                                        <div class="docContentHeader__item-link" id="dropdownMenuButton_t" title="Qo’shimcha modullar" data-toggle="dropdown" aria-haspopup="true" aria-expanded="false">
                                            <i class="fas fa-tags"></i>
                                        </div>
                                        <div class="dropdown-menu" aria-labelledby="dropdownMenuButton_t" id="t_dropdown_check">
                                            <div class="dropdown-menu__item">
                                                <div class="custom-control custom-checkbox stopProp">
                                                    <input class="custom-control-input" id="t_checkAll" type="checkbox" onclick="clickAllChk('t_checkAll', this,'t','b')">
                                                    <label class="custom-control-label" for="t_checkAll"></label>
                                                </div>
                                                Hammasi
                                            </div>
                                            <div class="dropdown-menu__item">
                                                <div class="custom-control custom-checkbox stopProp">
                                                    <input class="custom-control-input" id="t_3935" type="checkbox" onclick="hideItem(this)" checked="checked">
                                                    <label class="custom-control-label" for="t_3935"></label>
                                                </div>
                                                Keyingi tahrirga havola
                                            </div>
                                            <div class="dropdown-menu__item">
                                                <div class="custom-control custom-checkbox stopProp">
                                                    <input class="custom-control-input" id="t_3934" type="checkbox" onclick="hideItem(this)" checked="checked">
                                                    <label class="custom-control-label" for="t_3934"></label>
                                                </div>
                                                Oldingi tahrirga havola
                                            </div>
                                            <div class="dropdown-menu__item">
                                                <div class="custom-control custom-checkbox stopProp">
                                                    <input class="custom-control-input" id="t_5987" type="checkbox" onclick="hideItem(this)">
                                                    <label class="custom-control-label" for="t_5987"></label>
                                                </div>
                                                QTUK bo‘yicha indekslash
                                            </div>
                                            <div class="dropdown-menu__item">
                                                <div class="custom-control custom-checkbox stopProp">
                                                    <input class="custom-control-input" id="t_5988" type="checkbox" onclick="hideItem(this)">
                                                    <label class="custom-control-label" for="t_5988"></label>
                                                </div>
                                                QMQ bo‘yicha indekslash
                                            </div>
                                            <div class="dropdown-menu__item">
                                                <div class="custom-control custom-checkbox stopProp">
                                                    <input class="custom-control-input" id="t_1104" type="checkbox" onclick="hideItem(this)" checked="checked">
                                                    <label class="custom-control-label" for="t_1104"></label>
                                                </div>
                                                O‘zgartirishlar manbasi
                                            </div>
                                            <div class="dropdown-menu__item">
                                                <div class="custom-control custom-checkbox stopProp">
                                                    <input class="custom-control-input" id="t_1089" type="checkbox" onclick="hideItem(this)" checked="checked">
                                                    <label class="custom-control-label" for="t_1089"></label>
                                                </div>
                                                Rasmiy nashr manbasi
                                            </div>
                                        </div>
                                    </div>
                                    <div class="docContentHeader__item-link" id="t_btn_lex_comment" onclick="toggleLexComments()" title="Комментарий LexUz">
                                        <i class="fas fa-file-signature"></i>
                                    </div>
                                    
                                    <div class="dropdown docContentHeader__item-link-dropdown" title="Variantlar">
                                        <div class="docContentHeader__item-link" id="dd3" data-toggle="dropdown" aria-haspopup="true" aria-expanded="false">
                                            <i class="fas fa-calendar" style="font-weight: 400;"></i>
                                        </div>
                                        <div class="dropdown-menu lx_date_ddm" aria-labelledby="dd3" id="lx_var_t" title="">
                                            
                                                    <div class="dropdown-menu__item lx_date_selected stopProp">26.07.2005</div>
                                                
                                                    <div class="dropdown-menu__item lx_date_link" onclick="lxOpenUrl('/uz/docs/352719?ONDATE=22.02.2005')">22.02.2005</div>
                                                
                                                    <div class="dropdown-menu__item lx_date_link" onclick="lxOpenUrl('/uz/docs/352719?ONDATE=04.09.2004')">04.09.2004</div>
                                                
                                                    <div class="dropdown-menu__item lx_date_link" onclick="lxOpenUrl('/uz/docs/352719?ONDATE=28.08.2004')">28.08.2004</div>
                                                
                                        </div>
                                    </div>
                                    
                                    <div class="dropdown docContentHeader__item-link-dropdown" title="Variantlarni solishtirish">
                                        <div class="docContentHeader__item-link" id="dd4" data-toggle="dropdown" aria-haspopup="true" aria-expanded="false">
                                            <svg class="icon">
                                                <use xlink:href="/assets/img/sprite2.svg#compare"></use></svg>
                                        </div>
                                        <div class="dropdown-menu lx_date_ddm" aria-labelledby="dd4" title="">
                                            <div class="dropdown-menu__item lx_date_link" onclick="lxOpenUrl('/uz/docs/352719?ONDATE2=26.07.2005&action=compare')">26.07.2005</div>
<div class="dropdown-menu__item lx_date_link" onclick="lxOpenUrl('/uz/docs/352719?ONDATE2=22.02.2005&action=compare')">22.02.2005</div>
<div class="dropdown-menu__item lx_date_link" onclick="lxOpenUrl('/uz/docs/352719?ONDATE2=04.09.2004&action=compare')">04.09.2004</div>
<div class="dropdown-menu__item lx_date_link" onclick="lxOpenUrl('/uz/docs/352719?ONDATE2=28.08.2004&action=compare')">28.08.2004</div>
                                        </div>
                                    </div>
                                    
                                    <div class="docContentHeader__item-link" onclick="downloadDoc()" title="MS Word ga saqlash">
                                        <svg class="icon">
                                            <use xlink:href="/assets/img/sprite2.svg#word"></use></svg>
                                    </div>
                                    
                                    <div class="docContentHeader__item-link lx_border_right" onclick="window.print()" title="Chop etish">
                                        <i class="fas fa-print"></i>
                                    </div>
                                    
                                </div>
                                <div class="docContentHeader__item docContentHeader__item-mobile-right skiptranslate">
                                    <div class="dropdown">
                                        <div class="docContentHeader__item-link lx_border_both mr-1" data-toggle="dropdown">
                                            <i class="fas fa-eye"></i>
                                        </div>
                                        <div class="dropdown-menu drop_menu">
                                            <h6 class="show_size">Ko‘rinish</h6>
                                            <div class="row" style="margin-right: 1.3rem; margin-left: 0rem;">
                                                <div class="col-4">
                                                    <button class="btnA btn__left" onclick="toggleTheme('light');">A</button>
                                                </div>
                                                <div class="col-4">
                                                    <button class="btnA btn__cebter" onclick="toggleTheme('grey');">A</button>
                                                </div>
                                                <div class="col-4">
                                                    <button class="btnA btn__reght" onclick="toggleTheme('dark');">A</button>
                                                </div>
                                            </div>
                                        </div>
                                    </div>
                                    <div class="docContentHeader__item-link lx_border_left active" title="На русском">Рус</div><div class="docContentHeader__item-link" onclick="openUrl('/uz/docs/350145')" title="Ўзбекча">Ўзб</div><div class="docContentHeader__item-link" onclick="openUrl('/uz/docs/-350145')" title="O'zbekcha">O’zb</div><div class="docContentHeader__item-link-language" onclick="openTwoLang(3)" title="Ikkita tilda">Рус|Ўзб</div><div class="docContentHeader__item-link-language lx_border_right" onclick="openTwoLang(4)" title="Ikkita tilda">Рус|O‘zb</div>
                                    
                                    <div id="lx_gte">
                                        <div id="google_translate_element"></div>
                                        <div class="lx_ot skiptranslate">ONLINE TRANSLATE</div>
                                    </div>
                                    
                                </div>
                            </div>
                        </div>
                    </div>
                </div>
            </div>
        </header>
        
        <div id="docBody__sidebar" class="docBody__sidebar">
            <div class="docBody__sidebar-em">
                <div class="docNavbar">
                    <div class="docBody__search input-group">
                        <input id="search-criteria" class="form-control" type="text" placeholder="Izlash">
                        <div class="input-group-append">
                            <button class="btn" type="button" onclick="clearSearch();" title="Izlashni tozalash"><i class="fas fa-times"></i></button>
                        </div>
                    </div>
                    
                    <div class="lx_revive_adserver">
                        

<script type='text/javascript'><!--//<![CDATA[
    var m3_u = (location.protocol == 'https:' ? 'https://rk.adolatmarkazi.uz/www/delivery/ajs.php' : 'http://rk.adolatmarkazi.uz/www/delivery/ajs.php');
    var m3_r = Math.floor(Math.random() * 99999999999);
    if (!document.MAX_used) document.MAX_used = ',';
    document.write("<scr" + "ipt type='text/javascript' src='" + m3_u);
    document.write("?zoneid=7");
    document.write('&amp;cb=' + m3_r);
    if (document.MAX_used != ',') document.write("&amp;exclude=" + document.MAX_used);
    document.write(document.charset ? '&amp;charset=' + document.charset : (document.characterSet ? '&amp;charset=' + document.characterSet : ''));
    document.write("&amp;loc=" + escape(window.location));
    if (document.referrer) document.write("&amp;referer=" + escape(document.referrer));
    if (document.context) document.write("&context=" + escape(document.context));
    document.write("'><\/scr" + "ipt>");
    //]]>--></script>

                    </div>
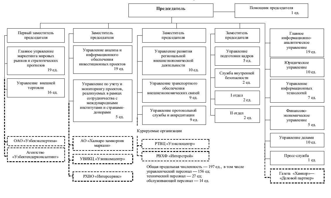
                    <div id="dvToc" style="margin: 5px;"><div class="docNavbar__item"><div class="docNavbar__item-link search-toggle" data-toggle="collapse" href="#collapse355580" role="button" aria-expanded="false" aria-controls="collapse355580"><div class="docNavbar__item-link-title"><a class="stopProp search-text" href="javascript:scrollText('355580');">О СОВЕРШЕНСТВОВАНИИ ОРГАНИЗАЦИИ ДЕЯТЕЛЬНОСТИ АГЕНТСТВА ПО ВНЕШНИМ ЭКОНОМИЧЕСКИМ СВЯЗЯМ РЕСПУБЛИКИ УЗБЕКИСТАН</a></div></div></div><div class="docNavbar__item"><div class="docNavbar__item-link search-toggle" data-toggle="collapse" href="#collapse355600" role="button" aria-expanded="false" aria-controls="collapse355600"><div class="docNavbar__item-link-title"><a class="stopProp search-text" href="javascript:scrollText('355600');">ПРИЛОЖЕНИЕ № 1<br />Перечень организаций, входящих в состав Агентства по внешним экономическим связям Республики Узбекистан </a></div></div></div><div class="docNavbar__item"><div class="docNavbar__item-link search-toggle" data-toggle="collapse" href="#collapse355614" role="button" aria-expanded="false" aria-controls="collapse355614"><div class="docNavbar__item-link-title"><a class="stopProp search-text" href="javascript:scrollText('355614');">ПРИЛОЖЕНИЕ № 2<br />Организационная структура Агентства по внешним экономическим связям Республики Узбекистан</a></div></div></div><div class="docNavbar__item"><div class="docNavbar__item-link search-toggle" data-toggle="collapse" href="#collapse355617" role="button" aria-expanded="false" aria-controls="collapse355617"><div class="docNavbar__item-link-title"><a class="stopProp search-text" href="javascript:scrollText('355617');">ПРИЛОЖЕНИЕ № 3<br />Структура центрального аппарата Агентства по внешним экономическим связям Республики Узбекистан</a></div></div></div><div class="docNavbar__item"><div class="docNavbar__item-link search-toggle" data-toggle="collapse" href="#collapse355620" role="button" aria-expanded="false" aria-controls="collapse355620"><div class="docNavbar__item-link-title"><a class="stopProp search-text" href="javascript:scrollText('355620');">ПРИЛОЖЕНИЕ № 4<br />Структура Агентства по внешним экономическим связям Республики Каракалпакстан</a></div></div></div><div class="docNavbar__item"><div class="docNavbar__item-link search-toggle" data-toggle="collapse" href="#collapse355623" role="button" aria-expanded="false" aria-controls="collapse355623"><div class="docNavbar__item-link-title"><a class="stopProp search-text" href="javascript:scrollText('355623');">ПРИЛОЖЕНИЕ № 5<br />Типовая структура управлений по внешним экономическим связям областей и г. Ташкента</a></div></div></div><div class="docNavbar__item"><div class="docNavbar__item-link search-toggle" data-toggle="collapse" href="#collapse355626" role="button" aria-expanded="false" aria-controls="collapse355626"><div class="docNavbar__item-link-title"><a class="stopProp search-text" href="javascript:scrollText('355626');">ПРИЛОЖЕНИЕ № 6<br />ПОЛОЖЕНИЕ об Агентстве по внешним экономическим связям Республики Узбекистан </a></div></div></div><div class="docNavbar__item"><div class="docNavbar__item-link search-toggle" data-toggle="collapse" href="#collapse355630" role="button" aria-expanded="false" aria-controls="collapse355630"><div class="docNavbar__item-link-title"><a class="stopProp search-text" href="javascript:scrollText('355630');">I. Общие положения</a></div></div></div><div class="docNavbar__item"><div class="docNavbar__item-link search-toggle" data-toggle="collapse" href="#collapse355638" role="button" aria-expanded="false" aria-controls="collapse355638"><div class="docNavbar__item-link-title"><a class="stopProp search-text" href="javascript:scrollText('355638');">II. Задачи и функции Агентства</a></div></div></div><div class="docNavbar__item"><div class="docNavbar__item-link search-toggle" data-toggle="collapse" href="#collapse355734" role="button" aria-expanded="false" aria-controls="collapse355734"><div class="docNavbar__item-link-title"><a class="stopProp search-text" href="javascript:scrollText('355734');">III. Права и ответственность Агентства</a></div></div></div><div class="docNavbar__item"><div class="docNavbar__item-link search-toggle" data-toggle="collapse" href="#collapse355755" role="button" aria-expanded="false" aria-controls="collapse355755"><div class="docNavbar__item-link-title"><a class="stopProp search-text" href="javascript:scrollText('355755');">IV. Организация деятельности Агентства</a></div></div></div></div>
                </div>
            </div>
        </div>
        
        <main class="main" id="doc_main">
            <div class="container">
                <div class="docHeader skiptranslate">
                    <div class="docHeader__col docHeader__col__1">
                        <div class="docHeader__item d-flex">
                            <div class="docHeader__item-label">Постановление Кабинета Министров Республики Узбекистан, от 28.08.2004 г. № 409</div>
                        </div>
                    </div>
                    <div class="docHeader__col docHeader__col__2">
                        <div class="docHeader__item d-flex">
                            <div class="docHeader__item-label" style="width: 60%">Kuchga kirish sanasi</div>
                            <div class="docHeader__item-value d-flex" style="width: 40%;">28.08.2004</div>
                        </div>
                    </div>
                    <div class="docHeader__col docHeader__col__3">
                        <div class="docHeader__item d-flex">
                            <div style="width: 60%">
                                <div class="dropdown mr-3">
                                    <a role="button" data-toggle="dropdown" aria-expanded="false">Qo‘shimcha axborot</a>
                                    <div class="dropdown-menu" style="margin-top: -2px;">
                                        <a class="dropdown-item" onclick="showAddCard(1)">Asosiy rekvizitlar</a>
                                        <a class="dropdown-item" onclick="showAddCard(2)">Kodifikatsiya</a>
                                        <a class="dropdown-item" onclick="showAddCard(3)">Qayta ko‘rib chiqilgan hujjatlar</a>
                                        <a class="dropdown-item" onclick="showAddCard(4)">Hujjatni qayta ko‘rib chiqishga asos bo‘lgan hujjatlar</a>
                                        <a class="dropdown-item" onclick="showAddCard(5)">Korrespondentlar</a>
                                        <a class="dropdown-item" onclick="showAddCard(6)">Respondentlar</a>
                                    </div>
                                </div>
                            </div>
                            <div style="width: 40%">
                                <div class="dropdown">
                                    <a role="button" data-toggle="dropdown" aria-expanded="false"><i class="fa fa-share-alt mr-2"></i>Ulashish</a>
                                    <div class="dropdown-menu" style="margin-top: -2px;">
                                        <a class="dropdown-item" target="_blank" href="https://telegram.me/share/url?url=http://lex.uz//uz/docs/352719 О совершенствовании организации деятельности Агентства по внешним экономическим связям Республики Узбекистан">Telegram</a>
                                        <a class="dropdown-item" target="_blank" href="https://www.facebook.com/sharer/sharer.php?u=http://lex.uz//uz/docs/352719">Facebook</a>
                                        <a class="dropdown-item" target="_blank" href="">Twitter</a>
                                        <a class="dropdown-item" target="_blank" href="">Instagram</a>
                                    </div>
                                </div>
                            </div>
                        </div>
                    </div>
                </div>
            </div>
            <div class="container docBody-container">
                <div class="docBody d-flex">
                    <div class="docBody__content">
                        <div class="docContentHeader docBody_bottom-nav">
                            <div class="docContentHeader__item docContentHeader__item-mobile-left docContentHeader__item--action">
                                <div class="docContentHeader__item-link lx_border_left" onclick="addToFavorite()" title="Tanlanganlarga qo‘shish">
                                    <i class="far fa-star"></i>
                                </div>
                                
                                <div class="dropdown docContentHeader__item-link-dropdown">
                                    <div class="docContentHeader__item-link" id="dropdownMenuButton_b" title="Qo’shimcha modullar" data-toggle="dropdown" aria-haspopup="true" aria-expanded="false">
                                        <i class="fas fa-tags"></i>
                                    </div>
                                    <div class="dropdown-menu" aria-labelledby="dropdownMenuButton_b" id="b_dropdown_check">
                                        <div class="dropdown-menu__item">
                                            <div class="custom-control custom-checkbox">
                                                <input class="custom-control-input" id="b_checkAll" type="checkbox" onclick="clickAllChk('b_checkAll', this,'b','t')">
                                                <label class="custom-control-label" for="b_checkAll"></label>
                                            </div>
                                            Hammasi
                                        </div>
                                        <div class="dropdown-menu__item">
                                            <div class="custom-control custom-checkbox">
                                                <input class="custom-control-input" id="b_3935" type="checkbox" onclick="hideItem(this)" checked="checked">
                                                <label class="custom-control-label" for="b_3935"></label>
                                            </div>
                                            Keyingi tahrirga havola
                                        </div>
                                        <div class="dropdown-menu__item">
                                            <div class="custom-control custom-checkbox">
                                                <input class="custom-control-input" id="b_3934" type="checkbox" onclick="hideItem(this)" checked="checked">
                                                <label class="custom-control-label" for="b_3934"></label>
                                            </div>
                                            Oldingi tahrirga havola
                                        </div>
                                        <div class="dropdown-menu__item">
                                            <div class="custom-control custom-checkbox">
                                                <input class="custom-control-input" id="b_5987" type="checkbox" onclick="hideItem(this)">
                                                <label class="custom-control-label" for="b_5987"></label>
                                            </div>
                                            QTUK bo‘yicha indekslash
                                        </div>
                                        <div class="dropdown-menu__item">
                                            <div class="custom-control custom-checkbox">
                                                <input class="custom-control-input" id="b_5988" type="checkbox" onclick="hideItem(this)">
                                                <label class="custom-control-label" for="b_5988"></label>
                                            </div>
                                            QMQ bo‘yicha indekslash
                                        </div>
                                        <div class="dropdown-menu__item">
                                            <div class="custom-control custom-checkbox">
                                                <input class="custom-control-input" id="b_1104" type="checkbox" onclick="hideItem(this)" checked="checked">
                                                <label class="custom-control-label" for="b_1104"></label>
                                            </div>
                                            O‘zgartirishlar manbasi
                                        </div>
                                        <div class="dropdown-menu__item">
                                            <div class="custom-control custom-checkbox">
                                                <input class="custom-control-input" id="b_1089" type="checkbox" onclick="hideItem(this)" checked="checked">
                                                <label class="custom-control-label" for="b_1089"></label>
                                            </div>
                                            Rasmiy nashr manbasi
                                        </div>
                                    </div>
                                </div>
                                <div class="docContentHeader__item-link" id="b_btn_lex_comment" onclick="toggleLexComments()">
                                    <i class="fas fa-file-signature"></i>
                                </div>
                                
                                <div class="dropdown docContentHeader__item-link-dropdown" title="Variantlar">
                                    <div class="docContentHeader__item-link" id="dd3_" data-toggle="dropdown" aria-haspopup="true" aria-expanded="false">
                                        <i class="fas fa-calendar" style="font-weight: 400;"></i>
                                    </div>
                                    <div class="dropdown-menu lx_date_ddm" aria-labelledby="dd3_" id="lx_var_b" title=""></div>
                                </div>
                                
                                <div class="dropdown docContentHeader__item-link-dropdown" title="Variantlarni solishtirish">
                                    <div class="docContentHeader__item-link" id="dd4_" data-toggle="dropdown" aria-haspopup="true" aria-expanded="false">
                                        <svg class="icon sm">
                                            <use xlink:href="/assets/img/sprite2.svg#compare"></use></svg>
                                    </div>
                                    <div class="dropdown-menu lx_date_ddm" aria-labelledby="dd4_" title="">
                                        <div class="dropdown-menu__item lx_date_link" onclick="lxOpenUrl('/uz/docs/352719?ONDATE2=26.07.2005&action=compare')">26.07.2005</div>
<div class="dropdown-menu__item lx_date_link" onclick="lxOpenUrl('/uz/docs/352719?ONDATE2=22.02.2005&action=compare')">22.02.2005</div>
<div class="dropdown-menu__item lx_date_link" onclick="lxOpenUrl('/uz/docs/352719?ONDATE2=04.09.2004&action=compare')">04.09.2004</div>
<div class="dropdown-menu__item lx_date_link" onclick="lxOpenUrl('/uz/docs/352719?ONDATE2=28.08.2004&action=compare')">28.08.2004</div>
                                    </div>
                                </div>
                                
                                <div class="docContentHeader__item-link" onclick="downloadDoc()" title="MS Word ga saqlash">
                                    <svg class="icon sm">
                                        <use xlink:href="/assets/img/sprite2.svg#word"></use></svg>
                                </div>
                                
                                <div class="docContentHeader__item-link lx_border_right" onclick="window.print()" title="Chop etish">
                                    <i class="fas fa-print"></i>
                                </div>
                            </div>
                            <div class="docContentHeader__item docContentHeader__item-mobile-right skiptranslate">
                                <div class="dropdown eye_btn">
                                    <div class="docContentHeader__item-link lx_border_both mr-1" data-toggle="dropdown">
                                        <i class="fas fa-eye"></i>
                                    </div>
                                    <div class="dropdown-menu drop_menu">
                                        <h6 class="show_size">Ko‘rinish</h6>
                                        <div class="row" style="margin-right: 1.3rem; margin-left: 0rem;">
                                            <div class="col-4">
                                                <button class="btnA btn__left" onclick="toggleTheme('light');">A</button>
                                            </div>
                                            <div class="col-4">
                                                <button class="btnA btn__cebter" onclick="toggleTheme('grey');">A</button>
                                            </div>
                                            <div class="col-4">
                                                <button class="btnA btn__reght" onclick="toggleTheme('dark');">A</button>
                                            </div>
                                        </div>
                                    </div>
                                </div>
                                <div class="docContentHeader__item-link lx_border_left active" title="На русском">Рус</div><div class="docContentHeader__item-link" onclick="openUrl('/uz/docs/350145')" title="Ўзбекча">Ўзб</div><div class="docContentHeader__item-link" onclick="openUrl('/uz/docs/-350145')" title="O'zbekcha">O’zb</div><div class="docContentHeader__item-link-language" onclick="openTwoLang(3)" title="Ikkita tilda">Рус|Ўзб</div><div class="docContentHeader__item-link-language lx_border_right" onclick="openTwoLang(4)" title="Ikkita tilda">Рус|O‘zb</div>
                            </div>
                        </div>
                        <div class="docBody__container">
                            <div class="docBody__content-em" id='main_container1'>
                                
                                    <div style="background-color: #fff; padding: 16px 14px 16px 8px;">
                                        <table style="width: 100%; font-family: Arial; font-size: 14px; font-weight: bold;">
                                            <tr>
                                                <td style="width: 50%; border: 0;">
                                                    
                                                        <div class="act_warning">
                                                            Акт утратил силу&nbsp;26.07.2005
                                                        </div>
                                                    
                                                </td>
                                                <td style="width: 50%; border: 0;" align="right">
                                                    
                                                    
                                                </td>
                                            </tr>
                                            
                                        </table>
                                        <div id="mD" class="main-column document" style="margin: 0px;">
                                            <div id="divBody">
                                                <div id="divCont" style="background:#ffffff;border:none;margin:auto;"><div class="INDEXES_ON_REF" style="display:none"><label id="s5987"></label><div name="onLBC352719" id="onLBC352719">[<b>ОКОЗ:</b><div id="LBC6119"><span class="iorRN">1.</span><span class="iorVal">02.00.00.00 Основы государственного управления / 02.03.00.00 Республиканские органы исполнительной власти и органы хозяйственного управления / 02.03.04.00 Агентства, инспекции и другие ведомства;</span></div><div id="LBC7042"><span class="iorRN">2.</span><span class="iorVal">10.00.00.00 Внешнеэкономическая деятельность. Таможенное дело / 10.01.00.00 Общие положения в сфере внешнеэкономической деятельности / 10.01.02.00 Управление внешнеэкономической деятельности]</span></div></div></div><div class="INDEXES_ON_REF" style="display:none"><label id="s5988"></label><div name="onLS352719" id="onLS352719">[<b>ТСЗ:</b><div id="LS3678"><span class="iorRN">1.</span><span class="iorVal">Государственный и общественный строй / Органы государственной власти. Органы государственного и хозяйственного управления;</span></div><div id="LS3783"><span class="iorRN">2.</span><span class="iorVal">Внешнеэкономическая деятельность. Таможенное дело / Общие вопросы]</span></div></div></div><div class="ACT_FORM lx_elem" onmousemove="lx_mo(event,355578)"><div class="lx_elem2"><div class="lx_elem3"><span onclick="lx_sf(355578)"><img src="/img/cmt.svg" />Hujjatga taklif yuborish</span><span onclick="lx_pa(355578)"><img src="/img/vlm.svg" />Audioni tinglash</span><span onclick="lx_cl(355578)"><img src="/img/lnk.svg" />Hujjat elementidan havola olish</span></div></div><div name="355578" id="355578">Постановление</div></div><div class="ACCEPTING_BODY lx_elem" onmousemove="lx_mo(event,355579)"><div class="lx_elem2"><div class="lx_elem3"><span onclick="lx_sf(355579)"><img src="/img/cmt.svg" />Hujjatga taklif yuborish</span><span onclick="lx_pa(355579)"><img src="/img/vlm.svg" />Audioni tinglash</span><span onclick="lx_cl(355579)"><img src="/img/lnk.svg" />Hujjat elementidan havola olish</span></div></div><div name="355579" id="355579">Кабинета Министров Республики Узбекистан</div></div><div class="ACT_TITLE lx_elem" onmousemove="lx_mo(event,355580)"><div class="lx_elem2"><div class="lx_elem3"><span onclick="lx_sf(355580)"><img src="/img/cmt.svg" />Hujjatga taklif yuborish</span><span onclick="lx_pa(355580)"><img src="/img/vlm.svg" />Audioni tinglash</span><span onclick="lx_cl(355580)"><img src="/img/lnk.svg" />Hujjat elementidan havola olish</span></div></div><div name="355580" id="355580">О СОВЕРШЕНСТВОВАНИИ ОРГАНИЗАЦИИ ДЕЯТЕЛЬНОСТИ АГЕНТСТВА ПО ВНЕШНИМ ЭКОНОМИЧЕСКИМ СВЯЗЯМ РЕСПУБЛИКИ УЗБЕКИСТАН</div></div><div class="BY_DEFAULT lx_elem" onmousemove="lx_mo(event,355582)"><div class="lx_elem2"><div class="lx_elem3"><span onclick="lx_sf(355582)"><img src="/img/cmt.svg" />Hujjatga taklif yuborish</span><span onclick="lx_pa(355582)"><img src="/img/vlm.svg" />Audioni tinglash</span><span onclick="lx_cl(355582)"><img src="/img/lnk.svg" />Hujjat elementidan havola olish</span></div></div><div name="355582" id="355582"></div></div><div class="COMMENT"><label id="s527"></label><div class="COMMENTLEXUZ"><img src="/image/favicon.gif" /> Комментарий LexUz</div><div name="814939" id="814939">Настоящее постановление утратило силу в соответствии с <a href="/uz/docs/814901?ONDATE=26.07.2005 00#814920">постановлением</a> Президента Республики Узбекистан «Об организации деятельности Министерства внешних экономических связей, инвестиций и торговли Республики Узбекистан» от 26 июля 2005 г. № 136.</div></div><div class="ACT_TEXT lx_elem" onmousemove="lx_mo(event,355583)"><div class="lx_elem2"><div class="lx_elem3"><span onclick="lx_sf(355583)"><img src="/img/cmt.svg" />Hujjatga taklif yuborish</span><span onclick="lx_pa(355583)"><img src="/img/vlm.svg" />Audioni tinglash</span><span onclick="lx_cl(355583)"><img src="/img/lnk.svg" />Hujjat elementidan havola olish</span></div></div><div name="355583" id="355583">Во исполнение <a href="/uz/docs/173166">Указа </a>Президента Республики Узбекистан от 9 декабря 2003 г. № УП-3358 «О совершенствовании системы республиканских органов государственного управления» и в целях дальнейшего совершенствования организации деятельности органов государственного управления, осуществляющих внешнеэкономические связи, Кабинет Министров постановляет:</div></div><div class="ACT_TEXT lx_elem" onmousemove="lx_mo(event,355584)"><div class="lx_elem2"><div class="lx_elem3"><span onclick="lx_sf(355584)"><img src="/img/cmt.svg" />Hujjatga taklif yuborish</span><span onclick="lx_pa(355584)"><img src="/img/vlm.svg" />Audioni tinglash</span><span onclick="lx_cl(355584)"><img src="/img/lnk.svg" />Hujjat elementidan havola olish</span></div></div><div name="355584" id="355584">1. Утвердить: </div></div><div class="ACT_TEXT lx_elem" onmousemove="lx_mo(event,355585)"><div class="lx_elem2"><div class="lx_elem3"><span onclick="lx_sf(355585)"><img src="/img/cmt.svg" />Hujjatga taklif yuborish</span><span onclick="lx_pa(355585)"><img src="/img/vlm.svg" />Audioni tinglash</span><span onclick="lx_cl(355585)"><img src="/img/lnk.svg" />Hujjat elementidan havola olish</span></div></div><div name="355585" id="355585">перечень организаций, входящих в состав Агентства по внешним экономическим связям Республики Узбекистан, и его организационную структуру согласно приложениям №№ <a href="/uz/docs/352719#355599">1 </a>и <a href="/uz/docs/352719#355613">2</a>;</div></div><div class="ACT_TEXT lx_elem" onmousemove="lx_mo(event,355586)"><div class="lx_elem2"><div class="lx_elem3"><span onclick="lx_sf(355586)"><img src="/img/cmt.svg" />Hujjatga taklif yuborish</span><span onclick="lx_pa(355586)"><img src="/img/vlm.svg" />Audioni tinglash</span><span onclick="lx_cl(355586)"><img src="/img/lnk.svg" />Hujjat elementidan havola olish</span></div></div><div name="355586" id="355586">структуру центрального аппарата Агентства по внешним экономическим связям Республики Узбекистан согласно <a href="/uz/docs/352719#355616">приложению № 3</a>;</div></div><div class="ACT_TEXT lx_elem" onmousemove="lx_mo(event,355587)"><div class="lx_elem2"><div class="lx_elem3"><span onclick="lx_sf(355587)"><img src="/img/cmt.svg" />Hujjatga taklif yuborish</span><span onclick="lx_pa(355587)"><img src="/img/vlm.svg" />Audioni tinglash</span><span onclick="lx_cl(355587)"><img src="/img/lnk.svg" />Hujjat elementidan havola olish</span></div></div><div name="355587" id="355587">структуру Агентства по внешним экономическим связям Республики Каракалпакстан и типовую структуру управлений по внешним экономическим связям областей и г. Ташкента согласно приложениям №№ <a href="/uz/docs/352719#355619">4</a> и <a href="/uz/docs/352719#355622">5</a>;</div></div><div class="ACT_TEXT lx_elem" onmousemove="lx_mo(event,355588)"><div class="lx_elem2"><div class="lx_elem3"><span onclick="lx_sf(355588)"><img src="/img/cmt.svg" />Hujjatga taklif yuborish</span><span onclick="lx_pa(355588)"><img src="/img/vlm.svg" />Audioni tinglash</span><span onclick="lx_cl(355588)"><img src="/img/lnk.svg" />Hujjat elementidan havola olish</span></div></div><div name="355588" id="355588"><a href="/uz/docs/352719#355625">Положение</a> об Агентстве по внешним экономическим связям Республики Узбекистан согласно приложению № 6.</div></div><div class="ACT_TEXT lx_elem" onmousemove="lx_mo(event,355589)"><div class="lx_elem2"><div class="lx_elem3"><span onclick="lx_sf(355589)"><img src="/img/cmt.svg" />Hujjatga taklif yuborish</span><span onclick="lx_pa(355589)"><img src="/img/vlm.svg" />Audioni tinglash</span><span onclick="lx_cl(355589)"><img src="/img/lnk.svg" />Hujjat elementidan havola olish</span></div></div><div name="355589" id="355589">2. Установить общую предельную численность работников центрального аппарата Агентства по внешним экономическим связям Республики Узбекистан в количестве 197 единиц, в том числе управленческого персонала — 156 единиц. </div></div><div class="ACT_TEXT lx_elem" onmousemove="lx_mo(event,355590)"><div class="lx_elem2"><div class="lx_elem3"><span onclick="lx_sf(355590)"><img src="/img/cmt.svg" />Hujjatga taklif yuborish</span><span onclick="lx_pa(355590)"><img src="/img/vlm.svg" />Audioni tinglash</span><span onclick="lx_cl(355590)"><img src="/img/lnk.svg" />Hujjat elementidan havola olish</span></div></div><div name="355590" id="355590">Предоставить право председателю Агентства по внешним экономическим связям Республики Узбекистан вносить, при необходимости, изменения в структуру центрального аппарата Агентства в пределах установленной предельной численности.</div></div><div class="ACT_TEXT lx_elem" onmousemove="lx_mo(event,355591)"><div class="lx_elem2"><div class="lx_elem3"><span onclick="lx_sf(355591)"><img src="/img/cmt.svg" />Hujjatga taklif yuborish</span><span onclick="lx_pa(355591)"><img src="/img/vlm.svg" />Audioni tinglash</span><span onclick="lx_cl(355591)"><img src="/img/lnk.svg" />Hujjat elementidan havola olish</span></div></div><div name="355591" id="355591">3. В<a href="/uz/docs/321708"> постановлении </a>Кабинета Министров от 23 октября 2002 г. № 368 «Об организации деятельности Агентства по внешним экономическим связям Республики Узбекистан» (СП Республики Узбекистан, 2002 г., № 10, ст. 62):</div></div><div class="ACT_TEXT lx_elem" onmousemove="lx_mo(event,355592)"><div class="lx_elem2"><div class="lx_elem3"><span onclick="lx_sf(355592)"><img src="/img/cmt.svg" />Hujjatga taklif yuborish</span><span onclick="lx_pa(355592)"><img src="/img/vlm.svg" />Audioni tinglash</span><span onclick="lx_cl(355592)"><img src="/img/lnk.svg" />Hujjat elementidan havola olish</span></div></div><div name="355592" id="355592">пункты<a href="/uz/docs/321708?ONDATE=23.10.2002 00#681898"> 1—5</a>, <a href="/uz/docs/321708?ONDATE=23.10.2002 00#323181">8</a> и <a href="/uz/docs/321708?ONDATE=23.10.2002 00#682936">10</a> признать утратившими силу;</div></div><div class="ACT_TEXT lx_elem" onmousemove="lx_mo(event,355593)"><div class="lx_elem2"><div class="lx_elem3"><span onclick="lx_sf(355593)"><img src="/img/cmt.svg" />Hujjatga taklif yuborish</span><span onclick="lx_pa(355593)"><img src="/img/vlm.svg" />Audioni tinglash</span><span onclick="lx_cl(355593)"><img src="/img/lnk.svg" />Hujjat elementidan havola olish</span></div></div><div name="355593" id="355593"><a href="/uz/docs/321708?ONDATE=23.10.2002 00#323185">абзац первый </a>пункта 9 дополнить словами «и материального поощрения».</div></div><div class="ACT_TEXT lx_elem" onmousemove="lx_mo(event,355594)"><div class="lx_elem2"><div class="lx_elem3"><span onclick="lx_sf(355594)"><img src="/img/cmt.svg" />Hujjatga taklif yuborish</span><span onclick="lx_pa(355594)"><img src="/img/vlm.svg" />Audioni tinglash</span><span onclick="lx_cl(355594)"><img src="/img/lnk.svg" />Hujjat elementidan havola olish</span></div></div><div name="355594" id="355594">4. Контроль за выполнением настоящего постановления возложить на заместителя Премьер-министра Республики Узбекистан Э.М. Ганиева.</div></div><div class="SIGNATURE lx_elem" onmousemove="lx_mo(event,355595)"><div class="lx_elem2"><div class="lx_elem3"><span onclick="lx_sf(355595)"><img src="/img/cmt.svg" />Hujjatga taklif yuborish</span><span onclick="lx_pa(355595)"><img src="/img/vlm.svg" />Audioni tinglash</span><span onclick="lx_cl(355595)"><img src="/img/lnk.svg" />Hujjat elementidan havola olish</span></div></div><div name="355595" id="355595">Председатель Кабинета Министров И. КАРИМОВ</div></div><div class="ACT_ESSENTIAL_ELEMENTS lx_elem" onmousemove="lx_mo(event,355596)"><div class="lx_elem2"><div class="lx_elem3"><span onclick="lx_sf(355596)"><img src="/img/cmt.svg" />Hujjatga taklif yuborish</span><span onclick="lx_pa(355596)"><img src="/img/vlm.svg" />Audioni tinglash</span><span onclick="lx_cl(355596)"><img src="/img/lnk.svg" />Hujjat elementidan havola olish</span></div></div><div name="355596" id="355596">г. Ташкент,</div></div><div class="ACT_ESSENTIAL_ELEMENTS lx_elem" onmousemove="lx_mo(event,355597)"><div class="lx_elem2"><div class="lx_elem3"><span onclick="lx_sf(355597)"><img src="/img/cmt.svg" />Hujjatga taklif yuborish</span><span onclick="lx_pa(355597)"><img src="/img/vlm.svg" />Audioni tinglash</span><span onclick="lx_cl(355597)"><img src="/img/lnk.svg" />Hujjat elementidan havola olish</span></div></div><div name="355597" id="355597">28 августа 2004 г.,</div></div><div class="ACT_ESSENTIAL_ELEMENTS_NUM lx_elem" onmousemove="lx_mo(event,355598)"><div class="lx_elem2"><div class="lx_elem3"><span onclick="lx_sf(355598)"><img src="/img/cmt.svg" />Hujjatga taklif yuborish</span><span onclick="lx_pa(355598)"><img src="/img/vlm.svg" />Audioni tinglash</span><span onclick="lx_cl(355598)"><img src="/img/lnk.svg" />Hujjat elementidan havola olish</span></div></div><div name="355598" id="355598">№ 409</div></div><div class="BY_DEFAULT lx_elem" onmousemove="lx_mo(event,355599)"><div class="lx_elem2"><div class="lx_elem3"><span onclick="lx_sf(355599)"><img src="/img/cmt.svg" />Hujjatga taklif yuborish</span><span onclick="lx_pa(355599)"><img src="/img/vlm.svg" />Audioni tinglash</span><span onclick="lx_cl(355599)"><img src="/img/lnk.svg" />Hujjat elementidan havola olish</span></div></div><div name="355599" id="355599"></div></div><div class="APPL_BANNER_LANDSCAPE_TITLE lx_elem" onmousemove="lx_mo(event,355600)"><div class="lx_elem2"><div class="lx_elem3"><span onclick="lx_sf(355600)"><img src="/img/cmt.svg" />Hujjatga taklif yuborish</span><span onclick="lx_pa(355600)"><img src="/img/vlm.svg" />Audioni tinglash</span><span onclick="lx_cl(355600)"><img src="/img/lnk.svg" />Hujjat elementidan havola olish</span></div></div><div name="355600" id="355600">ПРИЛОЖЕНИЕ № 1 <br />к <a href="/uz/docs/352719#355578">постановлению </a>Кабинета Министров<br />от 28 августа 2004 года № 409 </div></div><div class="ACT_TITLE_APPL lx_elem" onmousemove="lx_mo(event,355601)"><div class="lx_elem2"><div class="lx_elem3"><span onclick="lx_sf(355601)"><img src="/img/cmt.svg" />Hujjatga taklif yuborish</span><span onclick="lx_pa(355601)"><img src="/img/vlm.svg" />Audioni tinglash</span><span onclick="lx_cl(355601)"><img src="/img/lnk.svg" />Hujjat elementidan havola olish</span></div></div><div name="355601" id="355601">Перечень организаций, входящих в состав Агентства по внешним экономическим связям Республики Узбекистан </div></div><div class="BY_DEFAULT lx_elem" onmousemove="lx_mo(event,355602)"><div class="lx_elem2"><div class="lx_elem3"><span onclick="lx_sf(355602)"><img src="/img/cmt.svg" />Hujjatga taklif yuborish</span><span onclick="lx_pa(355602)"><img src="/img/vlm.svg" />Audioni tinglash</span><span onclick="lx_cl(355602)"><img src="/img/lnk.svg" />Hujjat elementidan havola olish</span></div></div><div name="355602" id="355602"></div></div><div class="ACT_TEXT lx_elem" onmousemove="lx_mo(event,355603)"><div class="lx_elem2"><div class="lx_elem3"><span onclick="lx_sf(355603)"><img src="/img/cmt.svg" />Hujjatga taklif yuborish</span><span onclick="lx_pa(355603)"><img src="/img/vlm.svg" />Audioni tinglash</span><span onclick="lx_cl(355603)"><img src="/img/lnk.svg" />Hujjat elementidan havola olish</span></div></div><div name="355603" id="355603">1. Агентство по внешним экономическим связям Республики Каракалпакстан</div></div><div class="ACT_TEXT lx_elem" onmousemove="lx_mo(event,355604)"><div class="lx_elem2"><div class="lx_elem3"><span onclick="lx_sf(355604)"><img src="/img/cmt.svg" />Hujjatga taklif yuborish</span><span onclick="lx_pa(355604)"><img src="/img/vlm.svg" />Audioni tinglash</span><span onclick="lx_cl(355604)"><img src="/img/lnk.svg" />Hujjat elementidan havola olish</span></div></div><div name="355604" id="355604">2. Управления по внешним экономическим связям областей и г. Ташкента</div></div><div class="ACT_TEXT lx_elem" onmousemove="lx_mo(event,355605)"><div class="lx_elem2"><div class="lx_elem3"><span onclick="lx_sf(355605)"><img src="/img/cmt.svg" />Hujjatga taklif yuborish</span><span onclick="lx_pa(355605)"><img src="/img/vlm.svg" />Audioni tinglash</span><span onclick="lx_cl(355605)"><img src="/img/lnk.svg" />Hujjat elementidan havola olish</span></div></div><div name="355605" id="355605">3. ОАО «Узбекэкспертиза»</div></div><div class="ACT_TEXT lx_elem" onmousemove="lx_mo(event,355606)"><div class="lx_elem2"><div class="lx_elem3"><span onclick="lx_sf(355606)"><img src="/img/cmt.svg" />Hujjatga taklif yuborish</span><span onclick="lx_pa(355606)"><img src="/img/vlm.svg" />Audioni tinglash</span><span onclick="lx_cl(355606)"><img src="/img/lnk.svg" />Hujjat elementidan havola olish</span></div></div><div name="355606" id="355606">4. Агентство «Узбектендерконсалтинг»</div></div><div class="ACT_TEXT lx_elem" onmousemove="lx_mo(event,355607)"><div class="lx_elem2"><div class="lx_elem3"><span onclick="lx_sf(355607)"><img src="/img/cmt.svg" />Hujjatga taklif yuborish</span><span onclick="lx_pa(355607)"><img src="/img/vlm.svg" />Audioni tinglash</span><span onclick="lx_cl(355607)"><img src="/img/lnk.svg" />Hujjat elementidan havola olish</span></div></div><div name="355607" id="355607">5. УВИКЦ «Узинкомцентр»</div></div><div class="ACT_TEXT lx_elem" onmousemove="lx_mo(event,355608)"><div class="lx_elem2"><div class="lx_elem3"><span onclick="lx_sf(355608)"><img src="/img/cmt.svg" />Hujjatga taklif yuborish</span><span onclick="lx_pa(355608)"><img src="/img/vlm.svg" />Audioni tinglash</span><span onclick="lx_cl(355608)"><img src="/img/lnk.svg" />Hujjat elementidan havola olish</span></div></div><div name="355608" id="355608">6. РТВЦ «Узэкспоцентр»</div></div><div class="ACT_TEXT lx_elem" onmousemove="lx_mo(event,355609)"><div class="lx_elem2"><div class="lx_elem3"><span onclick="lx_sf(355609)"><img src="/img/cmt.svg" />Hujjatga taklif yuborish</span><span onclick="lx_pa(355609)"><img src="/img/vlm.svg" />Audioni tinglash</span><span onclick="lx_cl(355609)"><img src="/img/lnk.svg" />Hujjat elementidan havola olish</span></div></div><div name="355609" id="355609">7. РХВО «Интерсервис»</div></div><div class="ACT_TEXT lx_elem" onmousemove="lx_mo(event,355610)"><div class="lx_elem2"><div class="lx_elem3"><span onclick="lx_sf(355610)"><img src="/img/cmt.svg" />Hujjatga taklif yuborish</span><span onclick="lx_pa(355610)"><img src="/img/vlm.svg" />Audioni tinglash</span><span onclick="lx_cl(355610)"><img src="/img/lnk.svg" />Hujjat elementidan havola olish</span></div></div><div name="355610" id="355610">8. РВХФ «Интерстрой»</div></div><div class="ACT_TEXT lx_elem" onmousemove="lx_mo(event,355611)"><div class="lx_elem2"><div class="lx_elem3"><span onclick="lx_sf(355611)"><img src="/img/cmt.svg" />Hujjatga taklif yuborish</span><span onclick="lx_pa(355611)"><img src="/img/vlm.svg" />Audioni tinglash</span><span onclick="lx_cl(355611)"><img src="/img/lnk.svg" />Hujjat elementidan havola olish</span></div></div><div name="355611" id="355611">9. АО «Халкаро Хамкорлик Маркази»</div></div><div class="ACT_TEXT lx_elem" onmousemove="lx_mo(event,355612)"><div class="lx_elem2"><div class="lx_elem3"><span onclick="lx_sf(355612)"><img src="/img/cmt.svg" />Hujjatga taklif yuborish</span><span onclick="lx_pa(355612)"><img src="/img/vlm.svg" />Audioni tinglash</span><span onclick="lx_cl(355612)"><img src="/img/lnk.svg" />Hujjat elementidan havola olish</span></div></div><div name="355612" id="355612">10. Газета «Хамкор»—«Деловой партнер»</div></div><div class="BY_DEFAULT lx_elem" onmousemove="lx_mo(event,355613)"><div class="lx_elem2"><div class="lx_elem3"><span onclick="lx_sf(355613)"><img src="/img/cmt.svg" />Hujjatga taklif yuborish</span><span onclick="lx_pa(355613)"><img src="/img/vlm.svg" />Audioni tinglash</span><span onclick="lx_cl(355613)"><img src="/img/lnk.svg" />Hujjat elementidan havola olish</span></div></div><div name="355613" id="355613"></div></div><div class="APPL_BANNER_LANDSCAPE_TITLE lx_elem" onmousemove="lx_mo(event,355614)"><div class="lx_elem2"><div class="lx_elem3"><span onclick="lx_sf(355614)"><img src="/img/cmt.svg" />Hujjatga taklif yuborish</span><span onclick="lx_pa(355614)"><img src="/img/vlm.svg" />Audioni tinglash</span><span onclick="lx_cl(355614)"><img src="/img/lnk.svg" />Hujjat elementidan havola olish</span></div></div><div name="355614" id="355614">ПРИЛОЖЕНИЕ № 2 <br />к <a href="/uz/docs/352719#355578">постановлению </a>Кабинета Министров<br />от 28 августа 2004 года № 409 </div></div><div class="ACT_TITLE_APPL lx_elem" onmousemove="lx_mo(event,355615)"><div class="lx_elem2"><div class="lx_elem3"><span onclick="lx_sf(355615)"><img src="/img/cmt.svg" />Hujjatga taklif yuborish</span><span onclick="lx_pa(355615)"><img src="/img/vlm.svg" />Audioni tinglash</span><span onclick="lx_cl(355615)"><img src="/img/lnk.svg" />Hujjat elementidan havola olish</span></div></div><div name="355615" id="355615">Организационная структура Агентства по внешним экономическим связям Республики Узбекистан</div></div><div class="BY_DEFAULT lx_elem" onmousemove="lx_mo(event,814862)"><div class="lx_elem2"><div class="lx_elem3"><span onclick="lx_sf(814862)"><img src="/img/cmt.svg" />Hujjatga taklif yuborish</span><span onclick="lx_pa(814862)"><img src="/img/vlm.svg" />Audioni tinglash</span><span onclick="lx_cl(814862)"><img src="/img/lnk.svg" />Hujjat elementidan havola olish</span></div></div><div name="814862" id="814862"></div></div><div class="TEXT_CENTER lx_elem" onmousemove="lx_mo(event,814864)"><div class="lx_elem2"><div class="lx_elem3"><span onclick="lx_sf(814864)"><img src="/img/cmt.svg" />Hujjatga taklif yuborish</span><span onclick="lx_pa(814864)"><img src="/img/vlm.svg" />Audioni tinglash</span><span onclick="lx_cl(814864)"><img src="/img/lnk.svg" />Hujjat elementidan havola olish</span></div></div><div name="814864" id="814864"><img src="/uz/files/814863" /></div></div><div class="BY_DEFAULT lx_elem" onmousemove="lx_mo(event,355616)"><div class="lx_elem2"><div class="lx_elem3"><span onclick="lx_sf(355616)"><img src="/img/cmt.svg" />Hujjatga taklif yuborish</span><span onclick="lx_pa(355616)"><img src="/img/vlm.svg" />Audioni tinglash</span><span onclick="lx_cl(355616)"><img src="/img/lnk.svg" />Hujjat elementidan havola olish</span></div></div><div name="355616" id="355616"></div></div><div class="APPL_BANNER_LANDSCAPE_TITLE lx_elem" onmousemove="lx_mo(event,355617)"><div class="lx_elem2"><div class="lx_elem3"><span onclick="lx_sf(355617)"><img src="/img/cmt.svg" />Hujjatga taklif yuborish</span><span onclick="lx_pa(355617)"><img src="/img/vlm.svg" />Audioni tinglash</span><span onclick="lx_cl(355617)"><img src="/img/lnk.svg" />Hujjat elementidan havola olish</span></div></div><div name="355617" id="355617">ПРИЛОЖЕНИЕ № 3 <br />к <a href="/uz/docs/352719#355578">постановлению </a>Кабинета Министров<br />от 28 августа 2004 года № 409 </div></div><div class="ACT_TITLE_APPL lx_elem" onmousemove="lx_mo(event,355618)"><div class="lx_elem2"><div class="lx_elem3"><span onclick="lx_sf(355618)"><img src="/img/cmt.svg" />Hujjatga taklif yuborish</span><span onclick="lx_pa(355618)"><img src="/img/vlm.svg" />Audioni tinglash</span><span onclick="lx_cl(355618)"><img src="/img/lnk.svg" />Hujjat elementidan havola olish</span></div></div><div name="355618" id="355618">Структура центрального аппарата Агентства по внешним экономическим связям Республики Узбекистан</div></div><div class="BY_DEFAULT lx_elem" onmousemove="lx_mo(event,814865)"><div class="lx_elem2"><div class="lx_elem3"><span onclick="lx_sf(814865)"><img src="/img/cmt.svg" />Hujjatga taklif yuborish</span><span onclick="lx_pa(814865)"><img src="/img/vlm.svg" />Audioni tinglash</span><span onclick="lx_cl(814865)"><img src="/img/lnk.svg" />Hujjat elementidan havola olish</span></div></div><div name="814865" id="814865"></div></div><div class="TEXT_CENTER lx_elem" onmousemove="lx_mo(event,814867)"><div class="lx_elem2"><div class="lx_elem3"><span onclick="lx_sf(814867)"><img src="/img/cmt.svg" />Hujjatga taklif yuborish</span><span onclick="lx_pa(814867)"><img src="/img/vlm.svg" />Audioni tinglash</span><span onclick="lx_cl(814867)"><img src="/img/lnk.svg" />Hujjat elementidan havola olish</span></div></div><div name="814867" id="814867"><img src="/uz/files/814866" /></div></div><div class="BY_DEFAULT lx_elem" onmousemove="lx_mo(event,355619)"><div class="lx_elem2"><div class="lx_elem3"><span onclick="lx_sf(355619)"><img src="/img/cmt.svg" />Hujjatga taklif yuborish</span><span onclick="lx_pa(355619)"><img src="/img/vlm.svg" />Audioni tinglash</span><span onclick="lx_cl(355619)"><img src="/img/lnk.svg" />Hujjat elementidan havola olish</span></div></div><div name="355619" id="355619"></div></div><div class="APPL_BANNER_LANDSCAPE_TITLE lx_elem" onmousemove="lx_mo(event,355620)"><div class="lx_elem2"><div class="lx_elem3"><span onclick="lx_sf(355620)"><img src="/img/cmt.svg" />Hujjatga taklif yuborish</span><span onclick="lx_pa(355620)"><img src="/img/vlm.svg" />Audioni tinglash</span><span onclick="lx_cl(355620)"><img src="/img/lnk.svg" />Hujjat elementidan havola olish</span></div></div><div name="355620" id="355620">ПРИЛОЖЕНИЕ № 4<br />к <a href="/uz/docs/352719#355578">постановлению </a>Кабинета Министров <br />от 28 августа 2004 года № 409 </div></div><div class="ACT_TITLE_APPL lx_elem" onmousemove="lx_mo(event,355621)"><div class="lx_elem2"><div class="lx_elem3"><span onclick="lx_sf(355621)"><img src="/img/cmt.svg" />Hujjatga taklif yuborish</span><span onclick="lx_pa(355621)"><img src="/img/vlm.svg" />Audioni tinglash</span><span onclick="lx_cl(355621)"><img src="/img/lnk.svg" />Hujjat elementidan havola olish</span></div></div><div name="355621" id="355621">Структура Агентства по внешним экономическим связям Республики Каракалпакстан</div></div><div class="BY_DEFAULT lx_elem" onmousemove="lx_mo(event,814868)"><div class="lx_elem2"><div class="lx_elem3"><span onclick="lx_sf(814868)"><img src="/img/cmt.svg" />Hujjatga taklif yuborish</span><span onclick="lx_pa(814868)"><img src="/img/vlm.svg" />Audioni tinglash</span><span onclick="lx_cl(814868)"><img src="/img/lnk.svg" />Hujjat elementidan havola olish</span></div></div><div name="814868" id="814868"></div></div><div class="TEXT_CENTER lx_elem" onmousemove="lx_mo(event,814870)"><div class="lx_elem2"><div class="lx_elem3"><span onclick="lx_sf(814870)"><img src="/img/cmt.svg" />Hujjatga taklif yuborish</span><span onclick="lx_pa(814870)"><img src="/img/vlm.svg" />Audioni tinglash</span><span onclick="lx_cl(814870)"><img src="/img/lnk.svg" />Hujjat elementidan havola olish</span></div></div><div name="814870" id="814870"><img src="/uz/files/814869" /></div></div><div class="BY_DEFAULT lx_elem" onmousemove="lx_mo(event,355622)"><div class="lx_elem2"><div class="lx_elem3"><span onclick="lx_sf(355622)"><img src="/img/cmt.svg" />Hujjatga taklif yuborish</span><span onclick="lx_pa(355622)"><img src="/img/vlm.svg" />Audioni tinglash</span><span onclick="lx_cl(355622)"><img src="/img/lnk.svg" />Hujjat elementidan havola olish</span></div></div><div name="355622" id="355622"></div></div><div class="APPL_BANNER_LANDSCAPE_TITLE lx_elem" onmousemove="lx_mo(event,355623)"><div class="lx_elem2"><div class="lx_elem3"><span onclick="lx_sf(355623)"><img src="/img/cmt.svg" />Hujjatga taklif yuborish</span><span onclick="lx_pa(355623)"><img src="/img/vlm.svg" />Audioni tinglash</span><span onclick="lx_cl(355623)"><img src="/img/lnk.svg" />Hujjat elementidan havola olish</span></div></div><div name="355623" id="355623">ПРИЛОЖЕНИЕ № 5<br />к <a href="/uz/docs/352719#355578">постановлению </a>Кабинета Министров <br />от 28 августа 2004 года № 409 </div></div><div class="ACT_TITLE_APPL lx_elem" onmousemove="lx_mo(event,355624)"><div class="lx_elem2"><div class="lx_elem3"><span onclick="lx_sf(355624)"><img src="/img/cmt.svg" />Hujjatga taklif yuborish</span><span onclick="lx_pa(355624)"><img src="/img/vlm.svg" />Audioni tinglash</span><span onclick="lx_cl(355624)"><img src="/img/lnk.svg" />Hujjat elementidan havola olish</span></div></div><div name="355624" id="355624">Типовая структура управлений по внешним экономическим связям областей и г. Ташкента</div></div><div class="BY_DEFAULT lx_elem" onmousemove="lx_mo(event,814871)"><div class="lx_elem2"><div class="lx_elem3"><span onclick="lx_sf(814871)"><img src="/img/cmt.svg" />Hujjatga taklif yuborish</span><span onclick="lx_pa(814871)"><img src="/img/vlm.svg" />Audioni tinglash</span><span onclick="lx_cl(814871)"><img src="/img/lnk.svg" />Hujjat elementidan havola olish</span></div></div><div name="814871" id="814871"></div></div><div class="TEXT_CENTER lx_elem" onmousemove="lx_mo(event,814873)"><div class="lx_elem2"><div class="lx_elem3"><span onclick="lx_sf(814873)"><img src="/img/cmt.svg" />Hujjatga taklif yuborish</span><span onclick="lx_pa(814873)"><img src="/img/vlm.svg" />Audioni tinglash</span><span onclick="lx_cl(814873)"><img src="/img/lnk.svg" />Hujjat elementidan havola olish</span></div></div><div name="814873" id="814873"><img src="/uz/files/814872" /></div></div><div class="BY_DEFAULT lx_elem" onmousemove="lx_mo(event,355625)"><div class="lx_elem2"><div class="lx_elem3"><span onclick="lx_sf(355625)"><img src="/img/cmt.svg" />Hujjatga taklif yuborish</span><span onclick="lx_pa(355625)"><img src="/img/vlm.svg" />Audioni tinglash</span><span onclick="lx_cl(355625)"><img src="/img/lnk.svg" />Hujjat elementidan havola olish</span></div></div><div name="355625" id="355625"></div></div><div class="APPL_BANNER_LANDSCAPE_TITLE lx_elem" onmousemove="lx_mo(event,355626)"><div class="lx_elem2"><div class="lx_elem3"><span onclick="lx_sf(355626)"><img src="/img/cmt.svg" />Hujjatga taklif yuborish</span><span onclick="lx_pa(355626)"><img src="/img/vlm.svg" />Audioni tinglash</span><span onclick="lx_cl(355626)"><img src="/img/lnk.svg" />Hujjat elementidan havola olish</span></div></div><div name="355626" id="355626">ПРИЛОЖЕНИЕ № 6<br />к <a href="/uz/docs/352719#355578">постановлению </a>Кабинета Министров<br />от 28 августа 2004 года № 409 </div></div><div class="ACT_FORM lx_elem" onmousemove="lx_mo(event,355627)"><div class="lx_elem2"><div class="lx_elem3"><span onclick="lx_sf(355627)"><img src="/img/cmt.svg" />Hujjatga taklif yuborish</span><span onclick="lx_pa(355627)"><img src="/img/vlm.svg" />Audioni tinglash</span><span onclick="lx_cl(355627)"><img src="/img/lnk.svg" />Hujjat elementidan havola olish</span></div></div><div name="355627" id="355627">ПОЛОЖЕНИЕ</div></div><div class="ACT_TITLE_APPL lx_elem" onmousemove="lx_mo(event,355628)"><div class="lx_elem2"><div class="lx_elem3"><span onclick="lx_sf(355628)"><img src="/img/cmt.svg" />Hujjatga taklif yuborish</span><span onclick="lx_pa(355628)"><img src="/img/vlm.svg" />Audioni tinglash</span><span onclick="lx_cl(355628)"><img src="/img/lnk.svg" />Hujjat elementidan havola olish</span></div></div><div name="355628" id="355628">об Агентстве по внешним экономическим связям Республики Узбекистан </div></div><div class="BY_DEFAULT lx_elem" onmousemove="lx_mo(event,355629)"><div class="lx_elem2"><div class="lx_elem3"><span onclick="lx_sf(355629)"><img src="/img/cmt.svg" />Hujjatga taklif yuborish</span><span onclick="lx_pa(355629)"><img src="/img/vlm.svg" />Audioni tinglash</span><span onclick="lx_cl(355629)"><img src="/img/lnk.svg" />Hujjat elementidan havola olish</span></div></div><div name="355629" id="355629"></div></div><div class="TEXT_HEADER_DEFAULT lx_elem" onmousemove="lx_mo(event,355630)"><div class="lx_elem2"><div class="lx_elem3"><span onclick="lx_sf(355630)"><img src="/img/cmt.svg" />Hujjatga taklif yuborish</span><span onclick="lx_pa(355630)"><img src="/img/vlm.svg" />Audioni tinglash</span><span onclick="lx_cl(355630)"><img src="/img/lnk.svg" />Hujjat elementidan havola olish</span></div></div><div name="355630" id="355630">I. Общие положения</div></div><div class="ACT_TEXT lx_elem" onmousemove="lx_mo(event,355631)"><div class="lx_elem2"><div class="lx_elem3"><span onclick="lx_sf(355631)"><img src="/img/cmt.svg" />Hujjatga taklif yuborish</span><span onclick="lx_pa(355631)"><img src="/img/vlm.svg" />Audioni tinglash</span><span onclick="lx_cl(355631)"><img src="/img/lnk.svg" />Hujjat elementidan havola olish</span></div></div><div name="355631" id="355631">1. Агентство по внешним экономическим связям Республики Узбекистан (далее — Агентство) является уполномоченным органом государственного управления в области регулирования внешнеэкономической деятельности и в своей деятельности подотчетно Кабинету Министров.</div></div><div class="ACT_TEXT lx_elem" onmousemove="lx_mo(event,355632)"><div class="lx_elem2"><div class="lx_elem3"><span onclick="lx_sf(355632)"><img src="/img/cmt.svg" />Hujjatga taklif yuborish</span><span onclick="lx_pa(355632)"><img src="/img/vlm.svg" />Audioni tinglash</span><span onclick="lx_cl(355632)"><img src="/img/lnk.svg" />Hujjat elementidan havola olish</span></div></div><div name="355632" id="355632">2. В систему Агентства входят: Агентство по внешним экономическим связям Республики Каракалпакстан, управления по внешним экономическим связям областей и г. Ташкента, специализированные хозрасчетные организации, торговые и экономические представительства за рубежом, являющиеся подведомственными организациями Агентства.</div></div><div class="ACT_TEXT lx_elem" onmousemove="lx_mo(event,355633)"><div class="lx_elem2"><div class="lx_elem3"><span onclick="lx_sf(355633)"><img src="/img/cmt.svg" />Hujjatga taklif yuborish</span><span onclick="lx_pa(355633)"><img src="/img/vlm.svg" />Audioni tinglash</span><span onclick="lx_cl(355633)"><img src="/img/lnk.svg" />Hujjat elementidan havola olish</span></div></div><div name="355633" id="355633">Территориальные подразделения находятся в двойном подчинении и подотчетны Агентству и соответственно Совету Министров Республики Каракалпакстан, хокимам областей и города Ташкента.</div></div><div class="ACT_TEXT lx_elem" onmousemove="lx_mo(event,355634)"><div class="lx_elem2"><div class="lx_elem3"><span onclick="lx_sf(355634)"><img src="/img/cmt.svg" />Hujjatga taklif yuborish</span><span onclick="lx_pa(355634)"><img src="/img/vlm.svg" />Audioni tinglash</span><span onclick="lx_cl(355634)"><img src="/img/lnk.svg" />Hujjat elementidan havola olish</span></div></div><div name="355634" id="355634">3. Агентство в своей деятельности руководствуется Конституцией Республики Узбекистан, законами Республики Узбекистан, постановлениями и другими актами Олий Мажлиса Республики Узбекистан, указами, постановлениями и распоряжениями Президента Республики Узбекистан, постановлениями и распоряжениями Кабинета Министров Республики Узбекистан, иными нормативными актами Республики Узбекистан, а также настоящим Положением.</div></div><div class="ACT_TEXT lx_elem" onmousemove="lx_mo(event,355635)"><div class="lx_elem2"><div class="lx_elem3"><span onclick="lx_sf(355635)"><img src="/img/cmt.svg" />Hujjatga taklif yuborish</span><span onclick="lx_pa(355635)"><img src="/img/vlm.svg" />Audioni tinglash</span><span onclick="lx_cl(355635)"><img src="/img/lnk.svg" />Hujjat elementidan havola olish</span></div></div><div name="355635" id="355635">4. Агентство осуществляет свою деятельность во взаимодействии с другими органами государственного управления, органами государственной власти на местах, общественными объединениями и другими организациями.</div></div><div class="ACT_TEXT lx_elem" onmousemove="lx_mo(event,355636)"><div class="lx_elem2"><div class="lx_elem3"><span onclick="lx_sf(355636)"><img src="/img/cmt.svg" />Hujjatga taklif yuborish</span><span onclick="lx_pa(355636)"><img src="/img/vlm.svg" />Audioni tinglash</span><span onclick="lx_cl(355636)"><img src="/img/lnk.svg" />Hujjat elementidan havola olish</span></div></div><div name="355636" id="355636">5. Материально-техническое обеспечение Агентства и его территориальных подразделений, а также оплата труда работников системы Агентства осуществляются за счет средств государственного бюджета в пределах выделяемых ассигнований, отчислений подведомственных организаций, а также других источников, не запрещенных законодательством.</div></div><div class="ACT_TEXT lx_elem" onmousemove="lx_mo(event,355637)"><div class="lx_elem2"><div class="lx_elem3"><span onclick="lx_sf(355637)"><img src="/img/cmt.svg" />Hujjatga taklif yuborish</span><span onclick="lx_pa(355637)"><img src="/img/vlm.svg" />Audioni tinglash</span><span onclick="lx_cl(355637)"><img src="/img/lnk.svg" />Hujjat elementidan havola olish</span></div></div><div name="355637" id="355637">6. Агентство является юридическим лицом, имеет печать с изображением Государственного герба Республики Узбекистан и со своим наименованием.</div></div><div class="TEXT_HEADER_DEFAULT lx_elem" onmousemove="lx_mo(event,355638)"><div class="lx_elem2"><div class="lx_elem3"><span onclick="lx_sf(355638)"><img src="/img/cmt.svg" />Hujjatga taklif yuborish</span><span onclick="lx_pa(355638)"><img src="/img/vlm.svg" />Audioni tinglash</span><span onclick="lx_cl(355638)"><img src="/img/lnk.svg" />Hujjat elementidan havola olish</span></div></div><div name="355638" id="355638">II. Задачи и функции Агентства</div></div><div class="ACT_TEXT lx_elem" onmousemove="lx_mo(event,355639)"><div class="lx_elem2"><div class="lx_elem3"><span onclick="lx_sf(355639)"><img src="/img/cmt.svg" />Hujjatga taklif yuborish</span><span onclick="lx_pa(355639)"><img src="/img/vlm.svg" />Audioni tinglash</span><span onclick="lx_cl(355639)"><img src="/img/lnk.svg" />Hujjat elementidan havola olish</span></div></div><div name="355639" id="355639">7. Основными задачами Агентства являются:</div></div><div class="ACT_TEXT lx_elem" onmousemove="lx_mo(event,355640)"><div class="lx_elem2"><div class="lx_elem3"><span onclick="lx_sf(355640)"><img src="/img/cmt.svg" />Hujjatga taklif yuborish</span><span onclick="lx_pa(355640)"><img src="/img/vlm.svg" />Audioni tinglash</span><span onclick="lx_cl(355640)"><img src="/img/lnk.svg" />Hujjat elementidan havola olish</span></div></div><div name="355640" id="355640">обеспечение проведения единой государственной политики в области внешнеэкономической деятельности и участие в формировании стратегии ее развития;</div></div><div class="ACT_TEXT lx_elem" onmousemove="lx_mo(event,355641)"><div class="lx_elem2"><div class="lx_elem3"><span onclick="lx_sf(355641)"><img src="/img/cmt.svg" />Hujjatga taklif yuborish</span><span onclick="lx_pa(355641)"><img src="/img/vlm.svg" />Audioni tinglash</span><span onclick="lx_cl(355641)"><img src="/img/lnk.svg" />Hujjat elementidan havola olish</span></div></div><div name="355641" id="355641">участие в создании условий и осуществление мер по развитию и повышению конкурентоспособности национальной экономики и ее интеграции в мировую экономическую систему;</div></div><div class="ACT_TEXT lx_elem" onmousemove="lx_mo(event,355642)"><div class="lx_elem2"><div class="lx_elem3"><span onclick="lx_sf(355642)"><img src="/img/cmt.svg" />Hujjatga taklif yuborish</span><span onclick="lx_pa(355642)"><img src="/img/vlm.svg" />Audioni tinglash</span><span onclick="lx_cl(355642)"><img src="/img/lnk.svg" />Hujjat elementidan havola olish</span></div></div><div name="355642" id="355642">содействие в реализации программ развития экспортного потенциала республики;</div></div><div class="ACT_TEXT lx_elem" onmousemove="lx_mo(event,355643)"><div class="lx_elem2"><div class="lx_elem3"><span onclick="lx_sf(355643)"><img src="/img/cmt.svg" />Hujjatga taklif yuborish</span><span onclick="lx_pa(355643)"><img src="/img/vlm.svg" />Audioni tinglash</span><span onclick="lx_cl(355643)"><img src="/img/lnk.svg" />Hujjat elementidan havola olish</span></div></div><div name="355643" id="355643">реализация комплекса мер по обеспечению благоприятных условий для доступа товаров отечественных производителей на внешние рынки;</div></div><div class="ACT_TEXT lx_elem" onmousemove="lx_mo(event,355644)"><div class="lx_elem2"><div class="lx_elem3"><span onclick="lx_sf(355644)"><img src="/img/cmt.svg" />Hujjatga taklif yuborish</span><span onclick="lx_pa(355644)"><img src="/img/vlm.svg" />Audioni tinglash</span><span onclick="lx_cl(355644)"><img src="/img/lnk.svg" />Hujjat elementidan havola olish</span></div></div><div name="355644" id="355644">обеспечение реализации государственной политики в области привлечения иностранных инвестиций;</div></div><div class="ACT_TEXT lx_elem" onmousemove="lx_mo(event,355645)"><div class="lx_elem2"><div class="lx_elem3"><span onclick="lx_sf(355645)"><img src="/img/cmt.svg" />Hujjatga taklif yuborish</span><span onclick="lx_pa(355645)"><img src="/img/vlm.svg" />Audioni tinglash</span><span onclick="lx_cl(355645)"><img src="/img/lnk.svg" />Hujjat elementidan havola olish</span></div></div><div name="355645" id="355645">осуществление комплекса мер по регулированию внешнеэкономической деятельности;</div></div><div class="ACT_TEXT lx_elem" onmousemove="lx_mo(event,355646)"><div class="lx_elem2"><div class="lx_elem3"><span onclick="lx_sf(355646)"><img src="/img/cmt.svg" />Hujjatga taklif yuborish</span><span onclick="lx_pa(355646)"><img src="/img/vlm.svg" />Audioni tinglash</span><span onclick="lx_cl(355646)"><img src="/img/lnk.svg" />Hujjat elementidan havola olish</span></div></div><div name="355646" id="355646">обеспечение развития торгово-экономического и финансового сотрудничества Республики Узбекистан с иностранными государствами, международными экономическими и финансовыми институтами, другими субъектами международного права;</div></div><div class="ACT_TEXT lx_elem" onmousemove="lx_mo(event,355647)"><div class="lx_elem2"><div class="lx_elem3"><span onclick="lx_sf(355647)"><img src="/img/cmt.svg" />Hujjatga taklif yuborish</span><span onclick="lx_pa(355647)"><img src="/img/vlm.svg" />Audioni tinglash</span><span onclick="lx_cl(355647)"><img src="/img/lnk.svg" />Hujjat elementidan havola olish</span></div></div><div name="355647" id="355647">обеспечение внешнеэкономической безопасности и защиты экономических интересов Республики Узбекистан, прав и интересов субъектов внешнеэкономической деятельности Республики Узбекистан.</div></div><div class="ACT_TEXT lx_elem" onmousemove="lx_mo(event,355648)"><div class="lx_elem2"><div class="lx_elem3"><span onclick="lx_sf(355648)"><img src="/img/cmt.svg" />Hujjatga taklif yuborish</span><span onclick="lx_pa(355648)"><img src="/img/vlm.svg" />Audioni tinglash</span><span onclick="lx_cl(355648)"><img src="/img/lnk.svg" />Hujjat elementidan havola olish</span></div></div><div name="355648" id="355648">8. В соответствии с возложенными задачами Агентство осуществляет следующие функции:</div></div><div class="ACT_TEXT lx_elem" onmousemove="lx_mo(event,355649)"><div class="lx_elem2"><div class="lx_elem3"><span onclick="lx_sf(355649)"><img src="/img/cmt.svg" />Hujjatga taklif yuborish</span><span onclick="lx_pa(355649)"><img src="/img/vlm.svg" />Audioni tinglash</span><span onclick="lx_cl(355649)"><img src="/img/lnk.svg" />Hujjat elementidan havola olish</span></div></div><div name="355649" id="355649">а) в области обеспечения проведения единой государственной внешнеэкономической политики:</div></div><div class="ACT_TEXT lx_elem" onmousemove="lx_mo(event,355650)"><div class="lx_elem2"><div class="lx_elem3"><span onclick="lx_sf(355650)"><img src="/img/cmt.svg" />Hujjatga taklif yuborish</span><span onclick="lx_pa(355650)"><img src="/img/vlm.svg" />Audioni tinglash</span><span onclick="lx_cl(355650)"><img src="/img/lnk.svg" />Hujjat elementidan havola olish</span></div></div><div name="355650" id="355650">участвует в создании условий для свободного и равноправного осуществления внешнеэкономической деятельности, основанной на принципах равного партнерства и недискриминации;</div></div><div class="ACT_TEXT lx_elem" onmousemove="lx_mo(event,355651)"><div class="lx_elem2"><div class="lx_elem3"><span onclick="lx_sf(355651)"><img src="/img/cmt.svg" />Hujjatga taklif yuborish</span><span onclick="lx_pa(355651)"><img src="/img/vlm.svg" />Audioni tinglash</span><span onclick="lx_cl(355651)"><img src="/img/lnk.svg" />Hujjat elementidan havola olish</span></div></div><div name="355651" id="355651">координирует работу органов государственного управления в области регулирования внешнеэкономической деятельности;</div></div><div class="ACT_TEXT lx_elem" onmousemove="lx_mo(event,355652)"><div class="lx_elem2"><div class="lx_elem3"><span onclick="lx_sf(355652)"><img src="/img/cmt.svg" />Hujjatga taklif yuborish</span><span onclick="lx_pa(355652)"><img src="/img/vlm.svg" />Audioni tinglash</span><span onclick="lx_cl(355652)"><img src="/img/lnk.svg" />Hujjat elementidan havola olish</span></div></div><div name="355652" id="355652">участвует в разработке основных направлений внешнеэкономического развития Республики Узбекистан, в формировании параметров основных индикаторов внешней торговли, валютного баланса и в совершенствовании валютной, таможенно-тарифной и налоговой политики страны;</div></div><div class="ACT_TEXT lx_elem" onmousemove="lx_mo(event,355653)"><div class="lx_elem2"><div class="lx_elem3"><span onclick="lx_sf(355653)"><img src="/img/cmt.svg" />Hujjatga taklif yuborish</span><span onclick="lx_pa(355653)"><img src="/img/vlm.svg" />Audioni tinglash</span><span onclick="lx_cl(355653)"><img src="/img/lnk.svg" />Hujjat elementidan havola olish</span></div></div><div name="355653" id="355653">координирует мероприятия, связанные с проведением государственной политики в сфере международной торговли товарами, в том числе сельскохозяйственной продукцией, текстильными товарами, гражданской авиатехникой, международной торговлей услугами, объектами интеллектуальной собственности, осуществления государственных закупок, предотгрузочной инспекции, применения санитарных, фитосанитарных и технических мер во внешней торговле; </div></div><div class="ACT_TEXT lx_elem" onmousemove="lx_mo(event,355654)"><div class="lx_elem2"><div class="lx_elem3"><span onclick="lx_sf(355654)"><img src="/img/cmt.svg" />Hujjatga taklif yuborish</span><span onclick="lx_pa(355654)"><img src="/img/vlm.svg" />Audioni tinglash</span><span onclick="lx_cl(355654)"><img src="/img/lnk.svg" />Hujjat elementidan havola olish</span></div></div><div name="355654" id="355654">осуществляет информационное обеспечение руководства Республики Узбекистан и Кабинета Министров по вопросам внешнеэкономических связей;</div></div><div class="ACT_TEXT lx_elem" onmousemove="lx_mo(event,355655)"><div class="lx_elem2"><div class="lx_elem3"><span onclick="lx_sf(355655)"><img src="/img/cmt.svg" />Hujjatga taklif yuborish</span><span onclick="lx_pa(355655)"><img src="/img/vlm.svg" />Audioni tinglash</span><span onclick="lx_cl(355655)"><img src="/img/lnk.svg" />Hujjat elementidan havola olish</span></div></div><div name="355655" id="355655">анализирует состояние внешнеэкономических связей, международной торговли товарами, экономической ситуации в зарубежных государствах, изучает конъюнктуру и прогнозирует на этой основе тенденции развития мировых рынков товаров и услуг, разрабатывает предложения об осуществлении региональной экономической интеграции; </div></div><div class="ACT_TEXT lx_elem" onmousemove="lx_mo(event,355656)"><div class="lx_elem2"><div class="lx_elem3"><span onclick="lx_sf(355656)"><img src="/img/cmt.svg" />Hujjatga taklif yuborish</span><span onclick="lx_pa(355656)"><img src="/img/vlm.svg" />Audioni tinglash</span><span onclick="lx_cl(355656)"><img src="/img/lnk.svg" />Hujjat elementidan havola olish</span></div></div><div name="355656" id="355656">разрабатывает совместно с заинтересованными министерствами и ведомствами предложения по формированию государственной политики в отношении свободных экономических зон;</div></div><div class="ACT_TEXT lx_elem" onmousemove="lx_mo(event,355657)"><div class="lx_elem2"><div class="lx_elem3"><span onclick="lx_sf(355657)"><img src="/img/cmt.svg" />Hujjatga taklif yuborish</span><span onclick="lx_pa(355657)"><img src="/img/vlm.svg" />Audioni tinglash</span><span onclick="lx_cl(355657)"><img src="/img/lnk.svg" />Hujjat elementidan havola olish</span></div></div><div name="355657" id="355657">организует проведение научных исследований по проблемам внешнеэкономических связей, краткосрочные и долгосрочные учебные стажировки и семинары за рубежом, обучение в учебном центре Агентства с выдачей сертификата о прохождении обучения для работников системы Агентства и специалистов других министерств, ведомств, организаций и хозяйствующих субъектов; </div></div><div class="ACT_TEXT lx_elem" onmousemove="lx_mo(event,355658)"><div class="lx_elem2"><div class="lx_elem3"><span onclick="lx_sf(355658)"><img src="/img/cmt.svg" />Hujjatga taklif yuborish</span><span onclick="lx_pa(355658)"><img src="/img/vlm.svg" />Audioni tinglash</span><span onclick="lx_cl(355658)"><img src="/img/lnk.svg" />Hujjat elementidan havola olish</span></div></div><div name="355658" id="355658">участвует в формировании торговой политики в сфере электронной коммерции, координирует деятельность органов государственного управления, органов государственной власти на местах в сфере электронной торговли во внешнеэкономической деятельности;</div></div><div class="ACT_TEXT lx_elem" onmousemove="lx_mo(event,355659)"><div class="lx_elem2"><div class="lx_elem3"><span onclick="lx_sf(355659)"><img src="/img/cmt.svg" />Hujjatga taklif yuborish</span><span onclick="lx_pa(355659)"><img src="/img/vlm.svg" />Audioni tinglash</span><span onclick="lx_cl(355659)"><img src="/img/lnk.svg" />Hujjat elementidan havola olish</span></div></div><div name="355659" id="355659">б) в области развития и повышения конкурентоспособности национальной экономики и ее интеграции в мировую экономическую систему:</div></div><div class="ACT_TEXT lx_elem" onmousemove="lx_mo(event,355660)"><div class="lx_elem2"><div class="lx_elem3"><span onclick="lx_sf(355660)"><img src="/img/cmt.svg" />Hujjatga taklif yuborish</span><span onclick="lx_pa(355660)"><img src="/img/vlm.svg" />Audioni tinglash</span><span onclick="lx_cl(355660)"><img src="/img/lnk.svg" />Hujjat elementidan havola olish</span></div></div><div name="355660" id="355660">разрабатывает и реализует комплекс мер по обеспечению благоприятных условий для доступа на внешние рынки хозяйствующих субъектов республики и содействует расширению различных форм внешнеэкономического сотрудничества;</div></div><div class="ACT_TEXT lx_elem" onmousemove="lx_mo(event,355661)"><div class="lx_elem2"><div class="lx_elem3"><span onclick="lx_sf(355661)"><img src="/img/cmt.svg" />Hujjatga taklif yuborish</span><span onclick="lx_pa(355661)"><img src="/img/vlm.svg" />Audioni tinglash</span><span onclick="lx_cl(355661)"><img src="/img/lnk.svg" />Hujjat elementidan havola olish</span></div></div><div name="355661" id="355661">вносит в Кабинет Министров предложения о введении количественных ограничений на экспорт и импорт товаров, об установлении государственной монополии на экспорт и/или импорт отдельных видов товаров, а также по порядку применения защитных, компенсационных, антидемпинговых и иных мер в отношении ввоза и вывоза товаров;</div></div><div class="ACT_TEXT lx_elem" onmousemove="lx_mo(event,355662)"><div class="lx_elem2"><div class="lx_elem3"><span onclick="lx_sf(355662)"><img src="/img/cmt.svg" />Hujjatga taklif yuborish</span><span onclick="lx_pa(355662)"><img src="/img/vlm.svg" />Audioni tinglash</span><span onclick="lx_cl(355662)"><img src="/img/lnk.svg" />Hujjat elementidan havola olish</span></div></div><div name="355662" id="355662">проводит в установленном порядке расследования, предшествующие введению защитных мер, антидемпинговых и компенсационных пошлин;</div></div><div class="ACT_TEXT lx_elem" onmousemove="lx_mo(event,355663)"><div class="lx_elem2"><div class="lx_elem3"><span onclick="lx_sf(355663)"><img src="/img/cmt.svg" />Hujjatga taklif yuborish</span><span onclick="lx_pa(355663)"><img src="/img/vlm.svg" />Audioni tinglash</span><span onclick="lx_cl(355663)"><img src="/img/lnk.svg" />Hujjat elementidan havola olish</span></div></div><div name="355663" id="355663">вносит в Кабинет Министров предложения об открытии и закрытии торговых представительств Республики Узбекистан за рубежом;</div></div><div class="ACT_TEXT lx_elem" onmousemove="lx_mo(event,355664)"><div class="lx_elem2"><div class="lx_elem3"><span onclick="lx_sf(355664)"><img src="/img/cmt.svg" />Hujjatga taklif yuborish</span><span onclick="lx_pa(355664)"><img src="/img/vlm.svg" />Audioni tinglash</span><span onclick="lx_cl(355664)"><img src="/img/lnk.svg" />Hujjat elementidan havola olish</span></div></div><div name="355664" id="355664">разрабатывает совместно с заинтересованными министерствами и ведомствами предложения по вопросам внешнеэкономической политики в области транспортных коммуникаций, оптимизации перевозок внешнеторговых грузов, проработке новых транспортных маршрутов и коридоров с целью интеграции коммуникационных систем республики в системы международных транспортных коммуникаций;</div></div><div class="ACT_TEXT lx_elem" onmousemove="lx_mo(event,355665)"><div class="lx_elem2"><div class="lx_elem3"><span onclick="lx_sf(355665)"><img src="/img/cmt.svg" />Hujjatga taklif yuborish</span><span onclick="lx_pa(355665)"><img src="/img/vlm.svg" />Audioni tinglash</span><span onclick="lx_cl(355665)"><img src="/img/lnk.svg" />Hujjat elementidan havola olish</span></div></div><div name="355665" id="355665">организует и проводит совместно с министерствами и ведомствами, хозяйствующими субъектами международные торгово-промышленные выставки, ярмарки, форумы, презентации, конференции и другие подобные мероприятия в Республике Узбекистан и за рубежом, осуществляет рекламно-информационную работу;</div></div><div class="ACT_TEXT lx_elem" onmousemove="lx_mo(event,355666)"><div class="lx_elem2"><div class="lx_elem3"><span onclick="lx_sf(355666)"><img src="/img/cmt.svg" />Hujjatga taklif yuborish</span><span onclick="lx_pa(355666)"><img src="/img/vlm.svg" />Audioni tinglash</span><span onclick="lx_cl(355666)"><img src="/img/lnk.svg" />Hujjat elementidan havola olish</span></div></div><div name="355666" id="355666">оказывает содействие хозяйствующим субъектам Республики Узбекистан в осуществлении внешнеэкономической деятельности, в поиске иностранных партнеров и анализе их надежности и деловой репутации;</div></div><div class="ACT_TEXT lx_elem" onmousemove="lx_mo(event,355667)"><div class="lx_elem2"><div class="lx_elem3"><span onclick="lx_sf(355667)"><img src="/img/cmt.svg" />Hujjatga taklif yuborish</span><span onclick="lx_pa(355667)"><img src="/img/vlm.svg" />Audioni tinglash</span><span onclick="lx_cl(355667)"><img src="/img/lnk.svg" />Hujjat elementidan havola olish</span></div></div><div name="355667" id="355667">осуществляет методическое, информационное и консультативное обеспечение субъектов внешнеэкономической деятельности по правовым, ценовым, валютным, финансовым, кредитным вопросам, требованиям внешнего рынка к качеству, техническим характеристикам поставляемой на экспорт продукции;</div></div><div class="ACT_TEXT lx_elem" onmousemove="lx_mo(event,355668)"><div class="lx_elem2"><div class="lx_elem3"><span onclick="lx_sf(355668)"><img src="/img/cmt.svg" />Hujjatga taklif yuborish</span><span onclick="lx_pa(355668)"><img src="/img/vlm.svg" />Audioni tinglash</span><span onclick="lx_cl(355668)"><img src="/img/lnk.svg" />Hujjat elementidan havola olish</span></div></div><div name="355668" id="355668">вносит предложения по вопросам импортозамещения и локализации производства готовой продукции, комплектующих изделий и материалов на базе местного сырья, участвует в разработке концепций и программ по повышению качества продукции и услуг отечественного производства;</div></div><div class="ACT_TEXT lx_elem" onmousemove="lx_mo(event,355669)"><div class="lx_elem2"><div class="lx_elem3"><span onclick="lx_sf(355669)"><img src="/img/cmt.svg" />Hujjatga taklif yuborish</span><span onclick="lx_pa(355669)"><img src="/img/vlm.svg" />Audioni tinglash</span><span onclick="lx_cl(355669)"><img src="/img/lnk.svg" />Hujjat elementidan havola olish</span></div></div><div name="355669" id="355669">осуществляет самостоятельно или делегирует полномочия по сертификации происхождения товаров, сертификации продукции, ввозимой юридическими лицами, в том числе иностранными инвесторами для собственных нужд, сертификации продукции собственного производства, поставляемой на экспорт, выдаче заключений об отнесении ввозимого технологического оборудования, запасных частей, материалов и компонентов, не производимых в Республике Узбекистан, к категории используемых в технологическом процессе при производстве локализуемой продукции;</div></div><div class="ACT_TEXT lx_elem" onmousemove="lx_mo(event,355670)"><div class="lx_elem2"><div class="lx_elem3"><span onclick="lx_sf(355670)"><img src="/img/cmt.svg" />Hujjatga taklif yuborish</span><span onclick="lx_pa(355670)"><img src="/img/vlm.svg" />Audioni tinglash</span><span onclick="lx_cl(355670)"><img src="/img/lnk.svg" />Hujjat elementidan havola olish</span></div></div><div name="355670" id="355670">в пределах своей компетенции комментирует и дает разъяснения по законодательству в области внешнеэкономической деятельности;</div></div><div class="ACT_TEXT lx_elem" onmousemove="lx_mo(event,355671)"><div class="lx_elem2"><div class="lx_elem3"><span onclick="lx_sf(355671)"><img src="/img/cmt.svg" />Hujjatga taklif yuborish</span><span onclick="lx_pa(355671)"><img src="/img/vlm.svg" />Audioni tinglash</span><span onclick="lx_cl(355671)"><img src="/img/lnk.svg" />Hujjat elementidan havola olish</span></div></div><div name="355671" id="355671">в) в области содействия в реализации программ развития экспортного потенциала республики: </div></div><div class="ACT_TEXT lx_elem" onmousemove="lx_mo(event,355672)"><div class="lx_elem2"><div class="lx_elem3"><span onclick="lx_sf(355672)"><img src="/img/cmt.svg" />Hujjatga taklif yuborish</span><span onclick="lx_pa(355672)"><img src="/img/vlm.svg" />Audioni tinglash</span><span onclick="lx_cl(355672)"><img src="/img/lnk.svg" />Hujjat elementidan havola olish</span></div></div><div name="355672" id="355672">участвует в разработке и реализации целевых программ расширения экспортного потенциала республики, вносит предложения по экономическому стимулированию предприятий-экспортеров;</div></div><div class="ACT_TEXT lx_elem" onmousemove="lx_mo(event,355673)"><div class="lx_elem2"><div class="lx_elem3"><span onclick="lx_sf(355673)"><img src="/img/cmt.svg" />Hujjatga taklif yuborish</span><span onclick="lx_pa(355673)"><img src="/img/vlm.svg" />Audioni tinglash</span><span onclick="lx_cl(355673)"><img src="/img/lnk.svg" />Hujjat elementidan havola olish</span></div></div><div name="355673" id="355673">принимает участие в разработке балансов производства и поставок важнейших товаров, в том числе хлопка-волокна, цветных металлов и другой продукции на экспорт;</div></div><div class="ACT_TEXT lx_elem" onmousemove="lx_mo(event,355674)"><div class="lx_elem2"><div class="lx_elem3"><span onclick="lx_sf(355674)"><img src="/img/cmt.svg" />Hujjatga taklif yuborish</span><span onclick="lx_pa(355674)"><img src="/img/vlm.svg" />Audioni tinglash</span><span onclick="lx_cl(355674)"><img src="/img/lnk.svg" />Hujjat elementidan havola olish</span></div></div><div name="355674" id="355674">проводит исследования и разрабатывает сценарное развитие ситуации на мировом рынке хлопка-волокна в кратко-, средне- и долгосрочном периоде;</div></div><div class="ACT_TEXT lx_elem" onmousemove="lx_mo(event,355675)"><div class="lx_elem2"><div class="lx_elem3"><span onclick="lx_sf(355675)"><img src="/img/cmt.svg" />Hujjatga taklif yuborish</span><span onclick="lx_pa(355675)"><img src="/img/vlm.svg" />Audioni tinglash</span><span onclick="lx_cl(355675)"><img src="/img/lnk.svg" />Hujjat elementidan havola olish</span></div></div><div name="355675" id="355675">разрабатывает различные механизмы и схемы экспорта, рекомендации по оптимизации производственного процесса с учетом требований внешних рынков и возможности максимального использования местных материально-сырьевых ресурсов;</div></div><div class="ACT_TEXT lx_elem" onmousemove="lx_mo(event,355676)"><div class="lx_elem2"><div class="lx_elem3"><span onclick="lx_sf(355676)"><img src="/img/cmt.svg" />Hujjatga taklif yuborish</span><span onclick="lx_pa(355676)"><img src="/img/vlm.svg" />Audioni tinglash</span><span onclick="lx_cl(355676)"><img src="/img/lnk.svg" />Hujjat elementidan havola olish</span></div></div><div name="355676" id="355676">изучает потребности и требования внешних рынков сбыта, разрабатывает и реализует стратегию экспорта, а также комплекс мер по расширению номенклатуры и увеличению объемов экспорта, совершенствованию механизма экспортного финансирования, по выходу национальных товаропроизводителей на международные рынки, как за счет оптимизации условий и внедрения новых инструментов в торговле номенклатурой традиционного экспорта, так и за счет продвижения других видов продукции (работ и услуг) нетрадиционного экспорта и диверсификации номенклатуры экспорта; </div></div><div class="ACT_TEXT lx_elem" onmousemove="lx_mo(event,355677)"><div class="lx_elem2"><div class="lx_elem3"><span onclick="lx_sf(355677)"><img src="/img/cmt.svg" />Hujjatga taklif yuborish</span><span onclick="lx_pa(355677)"><img src="/img/vlm.svg" />Audioni tinglash</span><span onclick="lx_cl(355677)"><img src="/img/lnk.svg" />Hujjat elementidan havola olish</span></div></div><div name="355677" id="355677">осуществляет маркетинговые исследования и готовит маркетинговые и аналитические обзоры по всей номенклатуре национального экспорта;</div></div><div class="ACT_TEXT lx_elem" onmousemove="lx_mo(event,355678)"><div class="lx_elem2"><div class="lx_elem3"><span onclick="lx_sf(355678)"><img src="/img/cmt.svg" />Hujjatga taklif yuborish</span><span onclick="lx_pa(355678)"><img src="/img/vlm.svg" />Audioni tinglash</span><span onclick="lx_cl(355678)"><img src="/img/lnk.svg" />Hujjat elementidan havola olish</span></div></div><div name="355678" id="355678">информирует хозяйствующие субъекты Республики Узбекистан о состоянии внешних рынков сбыта производимой в республике продукции, а также о перспективах экспорта других ее видов на потенциальные рынки сбыта через свои периодические издания и технические средства;</div></div><div class="ACT_TEXT lx_elem" onmousemove="lx_mo(event,355679)"><div class="lx_elem2"><div class="lx_elem3"><span onclick="lx_sf(355679)"><img src="/img/cmt.svg" />Hujjatga taklif yuborish</span><span onclick="lx_pa(355679)"><img src="/img/vlm.svg" />Audioni tinglash</span><span onclick="lx_cl(355679)"><img src="/img/lnk.svg" />Hujjat elementidan havola olish</span></div></div><div name="355679" id="355679">разрабатывает и вносит предложения по совершенствованию системы экспертной оценки количества и качества экспортируемых товаров; </div></div><div class="ACT_TEXT lx_elem" onmousemove="lx_mo(event,355680)"><div class="lx_elem2"><div class="lx_elem3"><span onclick="lx_sf(355680)"><img src="/img/cmt.svg" />Hujjatga taklif yuborish</span><span onclick="lx_pa(355680)"><img src="/img/vlm.svg" />Audioni tinglash</span><span onclick="lx_cl(355680)"><img src="/img/lnk.svg" />Hujjat elementidan havola olish</span></div></div><div name="355680" id="355680">участвует в организации реализации на экспорт продукции, выпускаемой предприятиями республики, включая предприятия малого бизнеса, оказывает им содействие в проведении маркетинговых исследований зарубежных рынков;</div></div><div class="ACT_TEXT lx_elem" onmousemove="lx_mo(event,355681)"><div class="lx_elem2"><div class="lx_elem3"><span onclick="lx_sf(355681)"><img src="/img/cmt.svg" />Hujjatga taklif yuborish</span><span onclick="lx_pa(355681)"><img src="/img/vlm.svg" />Audioni tinglash</span><span onclick="lx_cl(355681)"><img src="/img/lnk.svg" />Hujjat elementidan havola olish</span></div></div><div name="355681" id="355681">осуществляет мониторинг и анализирует ход выполнения прогнозов экспорта и импорта на основе информации, предоставляемой органами государственного и хозяйственного управления, и прогнозирует темпы, пропорции и эффективность экспорта и импорта в натуральном и ценовом выражениях; </div></div><div class="ACT_TEXT lx_elem" onmousemove="lx_mo(event,355682)"><div class="lx_elem2"><div class="lx_elem3"><span onclick="lx_sf(355682)"><img src="/img/cmt.svg" />Hujjatga taklif yuborish</span><span onclick="lx_pa(355682)"><img src="/img/vlm.svg" />Audioni tinglash</span><span onclick="lx_cl(355682)"><img src="/img/lnk.svg" />Hujjat elementidan havola olish</span></div></div><div name="355682" id="355682">разрабатывает программы и комплексы мер по интегрированию инфраструктуры внешней торговли в мировую систему электронной торговли, усилению присутствия в глобальной сети Интернет национальных экспортеров, созданию информационного центра ВЭД Республики Узбекистан;</div></div><div class="ACT_TEXT lx_elem" onmousemove="lx_mo(event,355683)"><div class="lx_elem2"><div class="lx_elem3"><span onclick="lx_sf(355683)"><img src="/img/cmt.svg" />Hujjatga taklif yuborish</span><span onclick="lx_pa(355683)"><img src="/img/vlm.svg" />Audioni tinglash</span><span onclick="lx_cl(355683)"><img src="/img/lnk.svg" />Hujjat elementidan havola olish</span></div></div><div name="355683" id="355683">формирует и ведет базу данных по экспортоориентированной продукции, а также по отраслевым производителям экспортной продукции и экспортерам;</div></div><div class="ACT_TEXT lx_elem" onmousemove="lx_mo(event,355684)"><div class="lx_elem2"><div class="lx_elem3"><span onclick="lx_sf(355684)"><img src="/img/cmt.svg" />Hujjatga taklif yuborish</span><span onclick="lx_pa(355684)"><img src="/img/vlm.svg" />Audioni tinglash</span><span onclick="lx_cl(355684)"><img src="/img/lnk.svg" />Hujjat elementidan havola olish</span></div></div><div name="355684" id="355684">разрабатывает и реализует меры по развитию инфраструктуры внешней торговли Узбекистана;</div></div><div class="ACT_TEXT lx_elem" onmousemove="lx_mo(event,355685)"><div class="lx_elem2"><div class="lx_elem3"><span onclick="lx_sf(355685)"><img src="/img/cmt.svg" />Hujjatga taklif yuborish</span><span onclick="lx_pa(355685)"><img src="/img/vlm.svg" />Audioni tinglash</span><span onclick="lx_cl(355685)"><img src="/img/lnk.svg" />Hujjat elementidan havola olish</span></div></div><div name="355685" id="355685">г) в области привлечения иностранных инвестиций:</div></div><div class="ACT_TEXT lx_elem" onmousemove="lx_mo(event,355686)"><div class="lx_elem2"><div class="lx_elem3"><span onclick="lx_sf(355686)"><img src="/img/cmt.svg" />Hujjatga taklif yuborish</span><span onclick="lx_pa(355686)"><img src="/img/vlm.svg" />Audioni tinglash</span><span onclick="lx_cl(355686)"><img src="/img/lnk.svg" />Hujjat elementidan havola olish</span></div></div><div name="355686" id="355686">координирует деятельность государственных органов по работе с иностранными инвесторами; </div></div><div class="ACT_TEXT lx_elem" onmousemove="lx_mo(event,355687)"><div class="lx_elem2"><div class="lx_elem3"><span onclick="lx_sf(355687)"><img src="/img/cmt.svg" />Hujjatga taklif yuborish</span><span onclick="lx_pa(355687)"><img src="/img/vlm.svg" />Audioni tinglash</span><span onclick="lx_cl(355687)"><img src="/img/lnk.svg" />Hujjat elementidan havola olish</span></div></div><div name="355687" id="355687">участвует в разработке и реализации комплекса мер, направленных на совершенствование инвестиционного климата в Республике Узбекистан, создание благоприятных условий для привлечения на территорию Республики Узбекистан иностранных инвестиций;</div></div><div class="ACT_TEXT lx_elem" onmousemove="lx_mo(event,355688)"><div class="lx_elem2"><div class="lx_elem3"><span onclick="lx_sf(355688)"><img src="/img/cmt.svg" />Hujjatga taklif yuborish</span><span onclick="lx_pa(355688)"><img src="/img/vlm.svg" />Audioni tinglash</span><span onclick="lx_cl(355688)"><img src="/img/lnk.svg" />Hujjat elementidan havola olish</span></div></div><div name="355688" id="355688">разрабатывает предложения по определению перечня приоритетных секторов экономики и наиболее важных производств для привлечения прямых иностранных инвестиций, участвует в организации конкурсов по приватизации крупных предприятий;</div></div><div class="ACT_TEXT lx_elem" onmousemove="lx_mo(event,355689)"><div class="lx_elem2"><div class="lx_elem3"><span onclick="lx_sf(355689)"><img src="/img/cmt.svg" />Hujjatga taklif yuborish</span><span onclick="lx_pa(355689)"><img src="/img/vlm.svg" />Audioni tinglash</span><span onclick="lx_cl(355689)"><img src="/img/lnk.svg" />Hujjat elementidan havola olish</span></div></div><div name="355689" id="355689">разрабатывает и реализует меры, регулирующие инвестиционную деятельность хозяйствующих субъектов за пределами Республики Узбекистан, связанную с вложением материальных и нематериальных ценностей и прав на них в объекты предпринимательской и иной деятельности за рубежом; </div></div><div class="ACT_TEXT lx_elem" onmousemove="lx_mo(event,355690)"><div class="lx_elem2"><div class="lx_elem3"><span onclick="lx_sf(355690)"><img src="/img/cmt.svg" />Hujjatga taklif yuborish</span><span onclick="lx_pa(355690)"><img src="/img/vlm.svg" />Audioni tinglash</span><span onclick="lx_cl(355690)"><img src="/img/lnk.svg" />Hujjat elementidan havola olish</span></div></div><div name="355690" id="355690">привлекает прямые иностранные инвестиции, внешние кредиты для реализации стратегически важных инвестиционных программ и приоритетных проектов, ведет мониторинг по эффективному их использованию на основе информации, предоставляемой организациями и предприятиями;</div></div><div class="ACT_TEXT lx_elem" onmousemove="lx_mo(event,355691)"><div class="lx_elem2"><div class="lx_elem3"><span onclick="lx_sf(355691)"><img src="/img/cmt.svg" />Hujjatga taklif yuborish</span><span onclick="lx_pa(355691)"><img src="/img/vlm.svg" />Audioni tinglash</span><span onclick="lx_cl(355691)"><img src="/img/lnk.svg" />Hujjat elementidan havola olish</span></div></div><div name="355691" id="355691">проводит мониторинг реализации инвестиционных проектов, включая контроль за соблюдением условий инвестиционных договоров;</div></div><div class="ACT_TEXT lx_elem" onmousemove="lx_mo(event,355692)"><div class="lx_elem2"><div class="lx_elem3"><span onclick="lx_sf(355692)"><img src="/img/cmt.svg" />Hujjatga taklif yuborish</span><span onclick="lx_pa(355692)"><img src="/img/vlm.svg" />Audioni tinglash</span><span onclick="lx_cl(355692)"><img src="/img/lnk.svg" />Hujjat elementidan havola olish</span></div></div><div name="355692" id="355692">оказывает субъектам внешнеэкономической деятельности информационную поддержку в вопросах привлечения иностранных инвестиций;</div></div><div class="ACT_TEXT lx_elem" onmousemove="lx_mo(event,355693)"><div class="lx_elem2"><div class="lx_elem3"><span onclick="lx_sf(355693)"><img src="/img/cmt.svg" />Hujjatga taklif yuborish</span><span onclick="lx_pa(355693)"><img src="/img/vlm.svg" />Audioni tinglash</span><span onclick="lx_cl(355693)"><img src="/img/lnk.svg" />Hujjat elementidan havola olish</span></div></div><div name="355693" id="355693">обеспечивает иностранных инвесторов информацией об имеющихся в республике потенциальных инвестиционных возможностях и реализуемых проектах;</div></div><div class="ACT_TEXT lx_elem" onmousemove="lx_mo(event,355694)"><div class="lx_elem2"><div class="lx_elem3"><span onclick="lx_sf(355694)"><img src="/img/cmt.svg" />Hujjatga taklif yuborish</span><span onclick="lx_pa(355694)"><img src="/img/vlm.svg" />Audioni tinglash</span><span onclick="lx_cl(355694)"><img src="/img/lnk.svg" />Hujjat elementidan havola olish</span></div></div><div name="355694" id="355694">проводит анализ потоков прямых иностранных инвестиций, изучает и обобщает мировой опыт по их привлечению и стимулированию;</div></div><div class="ACT_TEXT lx_elem" onmousemove="lx_mo(event,355695)"><div class="lx_elem2"><div class="lx_elem3"><span onclick="lx_sf(355695)"><img src="/img/cmt.svg" />Hujjatga taklif yuborish</span><span onclick="lx_pa(355695)"><img src="/img/vlm.svg" />Audioni tinglash</span><span onclick="lx_cl(355695)"><img src="/img/lnk.svg" />Hujjat elementidan havola olish</span></div></div><div name="355695" id="355695">д) в области регулирования внешнеэкономической деятельности:</div></div><div class="ACT_TEXT lx_elem" onmousemove="lx_mo(event,355696)"><div class="lx_elem2"><div class="lx_elem3"><span onclick="lx_sf(355696)"><img src="/img/cmt.svg" />Hujjatga taklif yuborish</span><span onclick="lx_pa(355696)"><img src="/img/vlm.svg" />Audioni tinglash</span><span onclick="lx_cl(355696)"><img src="/img/lnk.svg" />Hujjat elementidan havola olish</span></div></div><div name="355696" id="355696">координирует и регулирует деятельность субъектов внешнеэкономической деятельности в пределах своей компетенции;</div></div><div class="ACT_TEXT lx_elem" onmousemove="lx_mo(event,355697)"><div class="lx_elem2"><div class="lx_elem3"><span onclick="lx_sf(355697)"><img src="/img/cmt.svg" />Hujjatga taklif yuborish</span><span onclick="lx_pa(355697)"><img src="/img/vlm.svg" />Audioni tinglash</span><span onclick="lx_cl(355697)"><img src="/img/lnk.svg" />Hujjat elementidan havola olish</span></div></div><div name="355697" id="355697">организует и проводит тематическое и комплексное изучение деятельности субъектов внешнеэкономической деятельности республики, иностранных физических и юридических лиц на территории республики и за рубежом; </div></div><div class="ACT_TEXT lx_elem" onmousemove="lx_mo(event,355698)"><div class="lx_elem2"><div class="lx_elem3"><span onclick="lx_sf(355698)"><img src="/img/cmt.svg" />Hujjatga taklif yuborish</span><span onclick="lx_pa(355698)"><img src="/img/vlm.svg" />Audioni tinglash</span><span onclick="lx_cl(355698)"><img src="/img/lnk.svg" />Hujjat elementidan havola olish</span></div></div><div name="355698" id="355698">осуществляет в установленном порядке аккредитацию представительств иностранных коммерческих организаций и их персонала на территории Республики Узбекистан, а также рассматривает предоставляемую такими представительствами информацию об их деятельности;</div></div><div class="ACT_TEXT lx_elem" onmousemove="lx_mo(event,355699)"><div class="lx_elem2"><div class="lx_elem3"><span onclick="lx_sf(355699)"><img src="/img/cmt.svg" />Hujjatga taklif yuborish</span><span onclick="lx_pa(355699)"><img src="/img/vlm.svg" />Audioni tinglash</span><span onclick="lx_cl(355699)"><img src="/img/lnk.svg" />Hujjat elementidan havola olish</span></div></div><div name="355699" id="355699">разрабатывает совместно с заинтересованными министерствами и ведомствами ТН ВЭД (Товарная номенклатура внешней экономической деятельности) Республики Узбекистан;</div></div><div class="ACT_TEXT lx_elem" onmousemove="lx_mo(event,355700)"><div class="lx_elem2"><div class="lx_elem3"><span onclick="lx_sf(355700)"><img src="/img/cmt.svg" />Hujjatga taklif yuborish</span><span onclick="lx_pa(355700)"><img src="/img/vlm.svg" />Audioni tinglash</span><span onclick="lx_cl(355700)"><img src="/img/lnk.svg" />Hujjat elementidan havola olish</span></div></div><div name="355700" id="355700">осуществляет мониторинг деятельности предприятий, филиалов и представительств резидентов республики за рубежом;</div></div><div class="ACT_TEXT lx_elem" onmousemove="lx_mo(event,355701)"><div class="lx_elem2"><div class="lx_elem3"><span onclick="lx_sf(355701)"><img src="/img/cmt.svg" />Hujjatga taklif yuborish</span><span onclick="lx_pa(355701)"><img src="/img/vlm.svg" />Audioni tinglash</span><span onclick="lx_cl(355701)"><img src="/img/lnk.svg" />Hujjat elementidan havola olish</span></div></div><div name="355701" id="355701">осуществляет лицензирование экспорта-импорта, выдает соответствующие разрешения в случаях, установленных законодательством;</div></div><div class="ACT_TEXT lx_elem" onmousemove="lx_mo(event,355702)"><div class="lx_elem2"><div class="lx_elem3"><span onclick="lx_sf(355702)"><img src="/img/cmt.svg" />Hujjatga taklif yuborish</span><span onclick="lx_pa(355702)"><img src="/img/vlm.svg" />Audioni tinglash</span><span onclick="lx_cl(355702)"><img src="/img/lnk.svg" />Hujjat elementidan havola olish</span></div></div><div name="355702" id="355702">ведет Государственный реестр предприятий, филиалов и представительств, созданных за рубежом при участии резидентов Республики Узбекистан, и реестр участников внешнеэкономических связей, а также банк данных по аккредитованным представительствам иностранных коммерческих организаций;</div></div><div class="ACT_TEXT lx_elem" onmousemove="lx_mo(event,355703)"><div class="lx_elem2"><div class="lx_elem3"><span onclick="lx_sf(355703)"><img src="/img/cmt.svg" />Hujjatga taklif yuborish</span><span onclick="lx_pa(355703)"><img src="/img/vlm.svg" />Audioni tinglash</span><span onclick="lx_cl(355703)"><img src="/img/lnk.svg" />Hujjat elementidan havola olish</span></div></div><div name="355703" id="355703">осуществляет регистрацию в качестве участников внешнеэкономических связей индивидуальных предпринимателей без образования юридического лица, импортирующих товары, предназначенные для коммерческой деятельности;</div></div><div class="ACT_TEXT lx_elem" onmousemove="lx_mo(event,355704)"><div class="lx_elem2"><div class="lx_elem3"><span onclick="lx_sf(355704)"><img src="/img/cmt.svg" />Hujjatga taklif yuborish</span><span onclick="lx_pa(355704)"><img src="/img/vlm.svg" />Audioni tinglash</span><span onclick="lx_cl(355704)"><img src="/img/lnk.svg" />Hujjat elementidan havola olish</span></div></div><div name="355704" id="355704">осуществляет сбор и систематизацию информации о политико-экономическом положении зарубежных стран, поддерживаемых ими внешнеторговых режимах, включая вопросы функционирования зон свободной торговли, таможенных союзов, о предоставляемых режимах наибольшего благоприятствования, действующих таможенно-тарифных правилах, процедурах лицензирования и квотирования, определения таможенной стоимости и страны происхождения товаров и др.; </div></div><div class="ACT_TEXT lx_elem" onmousemove="lx_mo(event,355705)"><div class="lx_elem2"><div class="lx_elem3"><span onclick="lx_sf(355705)"><img src="/img/cmt.svg" />Hujjatga taklif yuborish</span><span onclick="lx_pa(355705)"><img src="/img/vlm.svg" />Audioni tinglash</span><span onclick="lx_cl(355705)"><img src="/img/lnk.svg" />Hujjat elementidan havola olish</span></div></div><div name="355705" id="355705">свидетельствует в соответствии с условиями внешнеторговых сделок и международных договоров об обстоятельствах непреодолимой силы (форс-мажор);</div></div><div class="ACT_TEXT lx_elem" onmousemove="lx_mo(event,355706)"><div class="lx_elem2"><div class="lx_elem3"><span onclick="lx_sf(355706)"><img src="/img/cmt.svg" />Hujjatga taklif yuborish</span><span onclick="lx_pa(355706)"><img src="/img/vlm.svg" />Audioni tinglash</span><span onclick="lx_cl(355706)"><img src="/img/lnk.svg" />Hujjat elementidan havola olish</span></div></div><div name="355706" id="355706">в установленном порядке проводит предварительную экспертизу импортных контрактов, а также регистрацию и учет других торгово-экономических договоров, заключаемых субъектами внешнеэкономической деятельности в случаях, установленных законодательством;</div></div><div class="ACT_TEXT lx_elem" onmousemove="lx_mo(event,355707)"><div class="lx_elem2"><div class="lx_elem3"><span onclick="lx_sf(355707)"><img src="/img/cmt.svg" />Hujjatga taklif yuborish</span><span onclick="lx_pa(355707)"><img src="/img/vlm.svg" />Audioni tinglash</span><span onclick="lx_cl(355707)"><img src="/img/lnk.svg" />Hujjat elementidan havola olish</span></div></div><div name="355707" id="355707">вносит предложения по разработке стратегии и порядка вывоза капитала резидентов Республики Узбекистан для создания предприятий, филиалов, представительств за пределами Республики Узбекистан, оказывает в рамках своих полномочий поддержку деятельности предприятий-резидентов республики за рубежом;</div></div><div class="ACT_TEXT lx_elem" onmousemove="lx_mo(event,355708)"><div class="lx_elem2"><div class="lx_elem3"><span onclick="lx_sf(355708)"><img src="/img/cmt.svg" />Hujjatga taklif yuborish</span><span onclick="lx_pa(355708)"><img src="/img/vlm.svg" />Audioni tinglash</span><span onclick="lx_cl(355708)"><img src="/img/lnk.svg" />Hujjat elementidan havola olish</span></div></div><div name="355708" id="355708">координирует и проводит работу в сфере экспортного контроля, осуществляет выдачу сертификатов, подтверждающих гарантии импортера (конечного пользователя) об использовании специфических товаров и товаров двойного назначения, ввозимых в Республику Узбекистан, в заявленных целях, разрабатывает предложения по национальным спискам объектов экспортного контроля;</div></div><div class="ACT_TEXT lx_elem" onmousemove="lx_mo(event,355709)"><div class="lx_elem2"><div class="lx_elem3"><span onclick="lx_sf(355709)"><img src="/img/cmt.svg" />Hujjatga taklif yuborish</span><span onclick="lx_pa(355709)"><img src="/img/vlm.svg" />Audioni tinglash</span><span onclick="lx_cl(355709)"><img src="/img/lnk.svg" />Hujjat elementidan havola olish</span></div></div><div name="355709" id="355709">участвует в разработке мер по защите и поддержке национальных транспортных организаций, развитию транспортной инфраструктуры республики и привлечению транзитных грузопотоков;</div></div><div class="ACT_TEXT lx_elem" onmousemove="lx_mo(event,355710)"><div class="lx_elem2"><div class="lx_elem3"><span onclick="lx_sf(355710)"><img src="/img/cmt.svg" />Hujjatga taklif yuborish</span><span onclick="lx_pa(355710)"><img src="/img/vlm.svg" />Audioni tinglash</span><span onclick="lx_cl(355710)"><img src="/img/lnk.svg" />Hujjat elementidan havola olish</span></div></div><div name="355710" id="355710">участвует в разработке правил сертификации ввозимых и вывозимых товаров, в установлении технических, фармакологических, санитарных, ветеринарных, экологических стандартов и требований, а также в обеспечении соблюдения требований предотгрузочных инспекций, таможенных формальностей, экологических, ветеринарных, фитосанитарных и санитарных норм при осуществлении внешнеэкономической деятельности;</div></div><div class="ACT_TEXT lx_elem" onmousemove="lx_mo(event,355711)"><div class="lx_elem2"><div class="lx_elem3"><span onclick="lx_sf(355711)"><img src="/img/cmt.svg" />Hujjatga taklif yuborish</span><span onclick="lx_pa(355711)"><img src="/img/vlm.svg" />Audioni tinglash</span><span onclick="lx_cl(355711)"><img src="/img/lnk.svg" />Hujjat elementidan havola olish</span></div></div><div name="355711" id="355711">осуществляет меры по регулированию экспорта и импорта товаров (работ, услуг), включая применение требований по стандартам, системам подтверждения соответствия, соблюдению норм безопасности, правил упаковки и маркировки товаров, использованию соответствующих форм товаросопроводительных документов;</div></div><div class="ACT_TEXT lx_elem" onmousemove="lx_mo(event,355712)"><div class="lx_elem2"><div class="lx_elem3"><span onclick="lx_sf(355712)"><img src="/img/cmt.svg" />Hujjatga taklif yuborish</span><span onclick="lx_pa(355712)"><img src="/img/vlm.svg" />Audioni tinglash</span><span onclick="lx_cl(355712)"><img src="/img/lnk.svg" />Hujjat elementidan havola olish</span></div></div><div name="355712" id="355712">оказывает методическое и практическое содействие в организации и функционировании служб маркетинга на предприятиях и организациях; </div></div><div class="ACT_TEXT lx_elem" onmousemove="lx_mo(event,355713)"><div class="lx_elem2"><div class="lx_elem3"><span onclick="lx_sf(355713)"><img src="/img/cmt.svg" />Hujjatga taklif yuborish</span><span onclick="lx_pa(355713)"><img src="/img/vlm.svg" />Audioni tinglash</span><span onclick="lx_cl(355713)"><img src="/img/lnk.svg" />Hujjat elementidan havola olish</span></div></div><div name="355713" id="355713">е) в области обеспечения развития торгово-экономического и финансового сотрудничества Республики Узбекистан с иностранными государствами, международными экономическими и финансовыми институтами, другими субъектами международного права:</div></div><div class="ACT_TEXT lx_elem" onmousemove="lx_mo(event,355714)"><div class="lx_elem2"><div class="lx_elem3"><span onclick="lx_sf(355714)"><img src="/img/cmt.svg" />Hujjatga taklif yuborish</span><span onclick="lx_pa(355714)"><img src="/img/vlm.svg" />Audioni tinglash</span><span onclick="lx_cl(355714)"><img src="/img/lnk.svg" />Hujjat elementidan havola olish</span></div></div><div name="355714" id="355714">участвует в формировании стратегии внешнеэкономического сотрудничества Республики Узбекистан с иностранными государствами, международными и правительственными организациями; </div></div><div class="ACT_TEXT lx_elem" onmousemove="lx_mo(event,355715)"><div class="lx_elem2"><div class="lx_elem3"><span onclick="lx_sf(355715)"><img src="/img/cmt.svg" />Hujjatga taklif yuborish</span><span onclick="lx_pa(355715)"><img src="/img/vlm.svg" />Audioni tinglash</span><span onclick="lx_cl(355715)"><img src="/img/lnk.svg" />Hujjat elementidan havola olish</span></div></div><div name="355715" id="355715">согласовывает и вносит в Кабинет Министров проекты международных договоров Республики Узбекистан с зарубежными странами и международными организациями по вопросам внешнеэкономической деятельности, в том числе торгово-экономического, инвестиционного, финансового, налогового, транспортно-коммуникационного, научно-технического и другого сотрудничества;</div></div><div class="ACT_TEXT lx_elem" onmousemove="lx_mo(event,355716)"><div class="lx_elem2"><div class="lx_elem3"><span onclick="lx_sf(355716)"><img src="/img/cmt.svg" />Hujjatga taklif yuborish</span><span onclick="lx_pa(355716)"><img src="/img/vlm.svg" />Audioni tinglash</span><span onclick="lx_cl(355716)"><img src="/img/lnk.svg" />Hujjat elementidan havola olish</span></div></div><div name="355716" id="355716">проводит переговоры и заключает международные договоры по поручению Правительства Республики Узбекистан, а также соглашения о сотрудничестве с внешнеэкономическими органами, фирмами, компаниями и предприятиями других государств и международными организациями;</div></div><div class="ACT_TEXT lx_elem" onmousemove="lx_mo(event,355717)"><div class="lx_elem2"><div class="lx_elem3"><span onclick="lx_sf(355717)"><img src="/img/cmt.svg" />Hujjatga taklif yuborish</span><span onclick="lx_pa(355717)"><img src="/img/vlm.svg" />Audioni tinglash</span><span onclick="lx_cl(355717)"><img src="/img/lnk.svg" />Hujjat elementidan havola olish</span></div></div><div name="355717" id="355717">координирует процесс получения технической, гуманитарной, безвозмездной и иной помощи от зарубежных государств и международных финансовых институтов;</div></div><div class="ACT_TEXT lx_elem" onmousemove="lx_mo(event,355718)"><div class="lx_elem2"><div class="lx_elem3"><span onclick="lx_sf(355718)"><img src="/img/cmt.svg" />Hujjatga taklif yuborish</span><span onclick="lx_pa(355718)"><img src="/img/vlm.svg" />Audioni tinglash</span><span onclick="lx_cl(355718)"><img src="/img/lnk.svg" />Hujjat elementidan havola olish</span></div></div><div name="355718" id="355718">участвует в информационно-аналитическом, договорно-правовом, организационном обеспечении мероприятий, связанных с государственными визитами и поездками делегаций Республики Узбекистан в иностранные государства;</div></div><div class="ACT_TEXT lx_elem" onmousemove="lx_mo(event,355719)"><div class="lx_elem2"><div class="lx_elem3"><span onclick="lx_sf(355719)"><img src="/img/cmt.svg" />Hujjatga taklif yuborish</span><span onclick="lx_pa(355719)"><img src="/img/vlm.svg" />Audioni tinglash</span><span onclick="lx_cl(355719)"><img src="/img/lnk.svg" />Hujjat elementidan havola olish</span></div></div><div name="355719" id="355719">выполняет функции секретариата узбекской части межправительственных комиссий (комитетов, советов) по торгово-экономическому сотрудничеству с иностранными государствами;</div></div><div class="ACT_TEXT lx_elem" onmousemove="lx_mo(event,355720)"><div class="lx_elem2"><div class="lx_elem3"><span onclick="lx_sf(355720)"><img src="/img/cmt.svg" />Hujjatga taklif yuborish</span><span onclick="lx_pa(355720)"><img src="/img/vlm.svg" />Audioni tinglash</span><span onclick="lx_cl(355720)"><img src="/img/lnk.svg" />Hujjat elementidan havola olish</span></div></div><div name="355720" id="355720">осуществляет комплекс мер, связанный с приемом и пребыванием иностранных делегаций по вопросам внешнеэкономического сотрудничества в Республике Узбекистан, включая организацию встреч и проводов, получение и продление виз членам делегации, размещение в гостинице, транспортное обслуживание, организацию переговоров, бизнес-семинаров, конференций, поездок по Республике Узбекистан;</div></div><div class="ACT_TEXT lx_elem" onmousemove="lx_mo(event,355721)"><div class="lx_elem2"><div class="lx_elem3"><span onclick="lx_sf(355721)"><img src="/img/cmt.svg" />Hujjatga taklif yuborish</span><span onclick="lx_pa(355721)"><img src="/img/vlm.svg" />Audioni tinglash</span><span onclick="lx_cl(355721)"><img src="/img/lnk.svg" />Hujjat elementidan havola olish</span></div></div><div name="355721" id="355721">ж) в области защиты экономических интересов Республики Узбекистан:</div></div><div class="ACT_TEXT lx_elem" onmousemove="lx_mo(event,355722)"><div class="lx_elem2"><div class="lx_elem3"><span onclick="lx_sf(355722)"><img src="/img/cmt.svg" />Hujjatga taklif yuborish</span><span onclick="lx_pa(355722)"><img src="/img/vlm.svg" />Audioni tinglash</span><span onclick="lx_cl(355722)"><img src="/img/lnk.svg" />Hujjat elementidan havola olish</span></div></div><div name="355722" id="355722">в установленном порядке представляет и защищает экономические интересы Республики Узбекистан за рубежом, содействует участию представителей Республики Узбекистан в проводимых международными и зарубежными организациями мероприятиях;</div></div><div class="ACT_TEXT lx_elem" onmousemove="lx_mo(event,355723)"><div class="lx_elem2"><div class="lx_elem3"><span onclick="lx_sf(355723)"><img src="/img/cmt.svg" />Hujjatga taklif yuborish</span><span onclick="lx_pa(355723)"><img src="/img/vlm.svg" />Audioni tinglash</span><span onclick="lx_cl(355723)"><img src="/img/lnk.svg" />Hujjat elementidan havola olish</span></div></div><div name="355723" id="355723">направляет, по согласованию с Министерством иностранных дел, своих представителей в качестве экономических советников при посольствах Республики Узбекистан за рубежом, осуществляет координацию их деятельности; </div></div><div class="ACT_TEXT lx_elem" onmousemove="lx_mo(event,355724)"><div class="lx_elem2"><div class="lx_elem3"><span onclick="lx_sf(355724)"><img src="/img/cmt.svg" />Hujjatga taklif yuborish</span><span onclick="lx_pa(355724)"><img src="/img/vlm.svg" />Audioni tinglash</span><span onclick="lx_cl(355724)"><img src="/img/lnk.svg" />Hujjat elementidan havola olish</span></div></div><div name="355724" id="355724">выполняет функции секретариата межведомственной комиссии по работе со Всемирной торговой организацией (ВТО), обеспечивает взаимодействие министерств и ведомств по реализации мероприятий по вступлению страны в ВТО, в том числе по адаптации законодательства к нормам и правилам ВТО;</div></div><div class="ACT_TEXT lx_elem" onmousemove="lx_mo(event,355725)"><div class="lx_elem2"><div class="lx_elem3"><span onclick="lx_sf(355725)"><img src="/img/cmt.svg" />Hujjatga taklif yuborish</span><span onclick="lx_pa(355725)"><img src="/img/vlm.svg" />Audioni tinglash</span><span onclick="lx_cl(355725)"><img src="/img/lnk.svg" />Hujjat elementidan havola olish</span></div></div><div name="355725" id="355725">координирует организацию деятельности по предотгрузочной инспекции в соответствии с принципами ГАТТ/ВТО;</div></div><div class="ACT_TEXT lx_elem" onmousemove="lx_mo(event,355726)"><div class="lx_elem2"><div class="lx_elem3"><span onclick="lx_sf(355726)"><img src="/img/cmt.svg" />Hujjatga taklif yuborish</span><span onclick="lx_pa(355726)"><img src="/img/vlm.svg" />Audioni tinglash</span><span onclick="lx_cl(355726)"><img src="/img/lnk.svg" />Hujjat elementidan havola olish</span></div></div><div name="355726" id="355726">ведет перечень компаний иностранных государств, прибегавших в отношении Республики Узбекистан к ограничению деловой практики или недобросовестно выполнивших обязательства перед хозяйствующими субъектами республики, консультирует субъектов внешнеэкономической деятельности по содержанию этого перечня;</div></div><div class="ACT_TEXT lx_elem" onmousemove="lx_mo(event,355727)"><div class="lx_elem2"><div class="lx_elem3"><span onclick="lx_sf(355727)"><img src="/img/cmt.svg" />Hujjatga taklif yuborish</span><span onclick="lx_pa(355727)"><img src="/img/vlm.svg" />Audioni tinglash</span><span onclick="lx_cl(355727)"><img src="/img/lnk.svg" />Hujjat elementidan havola olish</span></div></div><div name="355727" id="355727">осуществляет мониторинг за выполнением обязательств сторон по международным договорам Республики Узбекистан в области внешнеэкономического сотрудничества;</div></div><div class="ACT_TEXT lx_elem" onmousemove="lx_mo(event,355728)"><div class="lx_elem2"><div class="lx_elem3"><span onclick="lx_sf(355728)"><img src="/img/cmt.svg" />Hujjatga taklif yuborish</span><span onclick="lx_pa(355728)"><img src="/img/vlm.svg" />Audioni tinglash</span><span onclick="lx_cl(355728)"><img src="/img/lnk.svg" />Hujjat elementidan havola olish</span></div></div><div name="355728" id="355728">осуществляет контроль за коммерческими, валютными и платежными условиями и за внешнеторговыми ценами по контрактам, финансируемым за счет государственных внешних заимствований или под правительственные гарантии, а также в отношении отдельных видов товаров, на экспорт и/или импорт которых установлены государственная монополия или количественные ограничения;</div></div><div class="ACT_TEXT lx_elem" onmousemove="lx_mo(event,355729)"><div class="lx_elem2"><div class="lx_elem3"><span onclick="lx_sf(355729)"><img src="/img/cmt.svg" />Hujjatga taklif yuborish</span><span onclick="lx_pa(355729)"><img src="/img/vlm.svg" />Audioni tinglash</span><span onclick="lx_cl(355729)"><img src="/img/lnk.svg" />Hujjat elementidan havola olish</span></div></div><div name="355729" id="355729">в установленных случаях проводит экспертизу технико-экономических обоснований инвестиционных проектов, проводит мониторинг их реализации;</div></div><div class="ACT_TEXT lx_elem" onmousemove="lx_mo(event,355730)"><div class="lx_elem2"><div class="lx_elem3"><span onclick="lx_sf(355730)"><img src="/img/cmt.svg" />Hujjatga taklif yuborish</span><span onclick="lx_pa(355730)"><img src="/img/vlm.svg" />Audioni tinglash</span><span onclick="lx_cl(355730)"><img src="/img/lnk.svg" />Hujjat elementidan havola olish</span></div></div><div name="355730" id="355730">вносит предложения по разрешению международных экономических споров, в установленном порядке оказывает помощь хозяйствующим субъектам Республики Узбекистан в урегулировании в досудебном порядке хозяйственных споров в зарубежных странах, а также иностранным юридическим и физическим лицам — в Республике Узбекистан;</div></div><div class="ACT_TEXT lx_elem" onmousemove="lx_mo(event,355731)"><div class="lx_elem2"><div class="lx_elem3"><span onclick="lx_sf(355731)"><img src="/img/cmt.svg" />Hujjatga taklif yuborish</span><span onclick="lx_pa(355731)"><img src="/img/vlm.svg" />Audioni tinglash</span><span onclick="lx_cl(355731)"><img src="/img/lnk.svg" />Hujjat elementidan havola olish</span></div></div><div name="355731" id="355731">выдает в установленном порядке заключения и осуществляет контроль при транзите через территорию Республики Узбекистан опасных грузов, военной техники, военного имущества, взрывчатых веществ и изделий;</div></div><div class="ACT_TEXT lx_elem" onmousemove="lx_mo(event,355732)"><div class="lx_elem2"><div class="lx_elem3"><span onclick="lx_sf(355732)"><img src="/img/cmt.svg" />Hujjatga taklif yuborish</span><span onclick="lx_pa(355732)"><img src="/img/vlm.svg" />Audioni tinglash</span><span onclick="lx_cl(355732)"><img src="/img/lnk.svg" />Hujjat elementidan havola olish</span></div></div><div name="355732" id="355732">в установленных случаях согласовывает технико-экономические обоснования процесса переработки товаров на или вне таможенной территории Республики Узбекистан;</div></div><div class="ACT_TEXT lx_elem" onmousemove="lx_mo(event,355733)"><div class="lx_elem2"><div class="lx_elem3"><span onclick="lx_sf(355733)"><img src="/img/cmt.svg" />Hujjatga taklif yuborish</span><span onclick="lx_pa(355733)"><img src="/img/vlm.svg" />Audioni tinglash</span><span onclick="lx_cl(355733)"><img src="/img/lnk.svg" />Hujjat elementidan havola olish</span></div></div><div name="355733" id="355733">выдает в установленном порядке заключения о том, что переработка товаров вне таможенной территории не наносит ущерба экономическим интересам Республики Узбекистан.</div></div><div class="TEXT_HEADER_DEFAULT lx_elem" onmousemove="lx_mo(event,355734)"><div class="lx_elem2"><div class="lx_elem3"><span onclick="lx_sf(355734)"><img src="/img/cmt.svg" />Hujjatga taklif yuborish</span><span onclick="lx_pa(355734)"><img src="/img/vlm.svg" />Audioni tinglash</span><span onclick="lx_cl(355734)"><img src="/img/lnk.svg" />Hujjat elementidan havola olish</span></div></div><div name="355734" id="355734">III. Права и ответственность Агентства</div></div><div class="ACT_TEXT lx_elem" onmousemove="lx_mo(event,355735)"><div class="lx_elem2"><div class="lx_elem3"><span onclick="lx_sf(355735)"><img src="/img/cmt.svg" />Hujjatga taklif yuborish</span><span onclick="lx_pa(355735)"><img src="/img/vlm.svg" />Audioni tinglash</span><span onclick="lx_cl(355735)"><img src="/img/lnk.svg" />Hujjat elementidan havola olish</span></div></div><div name="355735" id="355735">9. Для выполнения возложенных на него задач и функций Агентство имеет право:</div></div><div class="ACT_TEXT lx_elem" onmousemove="lx_mo(event,355736)"><div class="lx_elem2"><div class="lx_elem3"><span onclick="lx_sf(355736)"><img src="/img/cmt.svg" />Hujjatga taklif yuborish</span><span onclick="lx_pa(355736)"><img src="/img/vlm.svg" />Audioni tinglash</span><span onclick="lx_cl(355736)"><img src="/img/lnk.svg" />Hujjat elementidan havola olish</span></div></div><div name="355736" id="355736">вносить предложения, согласовывать проекты решений, нормативных актов, связанных с выполнением задач и функций, возложенных на Агентство;</div></div><div class="ACT_TEXT lx_elem" onmousemove="lx_mo(event,355737)"><div class="lx_elem2"><div class="lx_elem3"><span onclick="lx_sf(355737)"><img src="/img/cmt.svg" />Hujjatga taklif yuborish</span><span onclick="lx_pa(355737)"><img src="/img/vlm.svg" />Audioni tinglash</span><span onclick="lx_cl(355737)"><img src="/img/lnk.svg" />Hujjat elementidan havola olish</span></div></div><div name="355737" id="355737">осуществлять прямые связи с органами зарубежных государств, международных и иных организаций, фирм, компаний и предприятий за рубежом, посольствами и миссиями иностранных государств, международными организациями и иностранными фирмами, компаниями и предприятиями, находящимися в Республике Узбекистан;</div></div><div class="ACT_TEXT lx_elem" onmousemove="lx_mo(event,355738)"><div class="lx_elem2"><div class="lx_elem3"><span onclick="lx_sf(355738)"><img src="/img/cmt.svg" />Hujjatga taklif yuborish</span><span onclick="lx_pa(355738)"><img src="/img/vlm.svg" />Audioni tinglash</span><span onclick="lx_cl(355738)"><img src="/img/lnk.svg" />Hujjat elementidan havola olish</span></div></div><div name="355738" id="355738">осуществлять в установленном порядке обмен технической и экономической информацией с зарубежными государствами и запрашивать, в соответствии с законодательством, информацию от министерств, ведомств и субъектов внешнеэкономической деятельности;</div></div><div class="ACT_TEXT lx_elem" onmousemove="lx_mo(event,355739)"><div class="lx_elem2"><div class="lx_elem3"><span onclick="lx_sf(355739)"><img src="/img/cmt.svg" />Hujjatga taklif yuborish</span><span onclick="lx_pa(355739)"><img src="/img/vlm.svg" />Audioni tinglash</span><span onclick="lx_cl(355739)"><img src="/img/lnk.svg" />Hujjat elementidan havola olish</span></div></div><div name="355739" id="355739">получать в установленном порядке статистические данные, предложения, заключения и другие соответствующие материалы по вопросам внешнеэкономических связей, в том числе в области транспорта и транспортных коридоров от соответствующих уполномоченных органов, хозяйствующих субъектов, необходимые для разработки параметров основных индикаторов внешней торговли и проверки их выполнения, а также в целях анализа и разработки предложений по стратегическим вопросам внешнеэкономической политики в сфере транспортных коммуникаций, включая материалы ведомственной статистики и другие информационные материалы, а также вести переписку по вопросам, связанным с выполнением возложенных задач и функций;</div></div><div class="ACT_TEXT lx_elem" onmousemove="lx_mo(event,355740)"><div class="lx_elem2"><div class="lx_elem3"><span onclick="lx_sf(355740)"><img src="/img/cmt.svg" />Hujjatga taklif yuborish</span><span onclick="lx_pa(355740)"><img src="/img/vlm.svg" />Audioni tinglash</span><span onclick="lx_cl(355740)"><img src="/img/lnk.svg" />Hujjat elementidan havola olish</span></div></div><div name="355740" id="355740">заслушивать ответственных лиц соответствующих министерств, ведомств, государственных организаций, местных органов власти и государственного управления, а также предприятий по вопросам проведения внешнеэкономической политики, соблюдения интересов республики на внешнем рынке, расширения ее экспортного потенциала и другим вопросам внешнеэкономических связей;</div></div><div class="ACT_TEXT lx_elem" onmousemove="lx_mo(event,355741)"><div class="lx_elem2"><div class="lx_elem3"><span onclick="lx_sf(355741)"><img src="/img/cmt.svg" />Hujjatga taklif yuborish</span><span onclick="lx_pa(355741)"><img src="/img/vlm.svg" />Audioni tinglash</span><span onclick="lx_cl(355741)"><img src="/img/lnk.svg" />Hujjat elementidan havola olish</span></div></div><div name="355741" id="355741">принимать меры в отношении хозяйствующих субъектов, нарушающих установленный порядок осуществления внешнеэкономической деятельности, в порядке и случаях, установленных законодательством;</div></div><div class="ACT_TEXT lx_elem" onmousemove="lx_mo(event,355742)"><div class="lx_elem2"><div class="lx_elem3"><span onclick="lx_sf(355742)"><img src="/img/cmt.svg" />Hujjatga taklif yuborish</span><span onclick="lx_pa(355742)"><img src="/img/vlm.svg" />Audioni tinglash</span><span onclick="lx_cl(355742)"><img src="/img/lnk.svg" />Hujjat elementidan havola olish</span></div></div><div name="355742" id="355742">создавать координационные, научно-технические и другие советы, межведомственные экспертные комиссии, созывать специальные совещания по проблемам внешнеэкономических связей Республики Узбекистан, а также привлекать для консультаций, изучения и решения этих проблем ученых, специалистов и экспертов на договорной основе, как отечественных, так и зарубежных;</div></div><div class="ACT_TEXT lx_elem" onmousemove="lx_mo(event,355743)"><div class="lx_elem2"><div class="lx_elem3"><span onclick="lx_sf(355743)"><img src="/img/cmt.svg" />Hujjatga taklif yuborish</span><span onclick="lx_pa(355743)"><img src="/img/vlm.svg" />Audioni tinglash</span><span onclick="lx_cl(355743)"><img src="/img/lnk.svg" />Hujjat elementidan havola olish</span></div></div><div name="355743" id="355743">разрабатывать программы развития собственной материально-технической базы строительства;</div></div><div class="ACT_TEXT lx_elem" onmousemove="lx_mo(event,355744)"><div class="lx_elem2"><div class="lx_elem3"><span onclick="lx_sf(355744)"><img src="/img/cmt.svg" />Hujjatga taklif yuborish</span><span onclick="lx_pa(355744)"><img src="/img/vlm.svg" />Audioni tinglash</span><span onclick="lx_cl(355744)"><img src="/img/lnk.svg" />Hujjat elementidan havola olish</span></div></div><div name="355744" id="355744">использовать оставляемые в своем распоряжении внебюджетные средства, получаемые Агентством и его подразделениями в республике и за ее пределами за осуществление различного рода услуг и деятельности, для финансирования развития своей материально-технической базы и социальных целей;</div></div><div class="ACT_TEXT lx_elem" onmousemove="lx_mo(event,355745)"><div class="lx_elem2"><div class="lx_elem3"><span onclick="lx_sf(355745)"><img src="/img/cmt.svg" />Hujjatga taklif yuborish</span><span onclick="lx_pa(355745)"><img src="/img/vlm.svg" />Audioni tinglash</span><span onclick="lx_cl(355745)"><img src="/img/lnk.svg" />Hujjat elementidan havola olish</span></div></div><div name="355745" id="355745">участвовать в пределах своих полномочий в работе по привлечению иностранных государственных, банковских и коммерческих кредитов в осуществлении контроля за рациональным использованием валютных средств и обеспечением возвратности кредитов, обеспеченных правительственными гарантиями, ведении их учета, а также поручать подведомственным внешнеэкономическим организациям осуществление операций в счет кредитов и обеспечивать оперативный контроль за соответствием заключаемых в счет кредитов контрактов условиям их предоставления по проектам, реализация которых возложена Кабинетом Министров на Агентство;</div></div><div class="ACT_TEXT lx_elem" onmousemove="lx_mo(event,355746)"><div class="lx_elem2"><div class="lx_elem3"><span onclick="lx_sf(355746)"><img src="/img/cmt.svg" />Hujjatga taklif yuborish</span><span onclick="lx_pa(355746)"><img src="/img/vlm.svg" />Audioni tinglash</span><span onclick="lx_cl(355746)"><img src="/img/lnk.svg" />Hujjat elementidan havola olish</span></div></div><div name="355746" id="355746">осуществлять меры по развитию социальной инфраструктуры Агентства;</div></div><div class="ACT_TEXT lx_elem" onmousemove="lx_mo(event,355747)"><div class="lx_elem2"><div class="lx_elem3"><span onclick="lx_sf(355747)"><img src="/img/cmt.svg" />Hujjatga taklif yuborish</span><span onclick="lx_pa(355747)"><img src="/img/vlm.svg" />Audioni tinglash</span><span onclick="lx_cl(355747)"><img src="/img/lnk.svg" />Hujjat elementidan havola olish</span></div></div><div name="355747" id="355747">производить выплату персональных надбавок к должностным окладам работников, а также надбавок за знание иностранных языков и выслугу лет;</div></div><div class="ACT_TEXT lx_elem" onmousemove="lx_mo(event,355748)"><div class="lx_elem2"><div class="lx_elem3"><span onclick="lx_sf(355748)"><img src="/img/cmt.svg" />Hujjatga taklif yuborish</span><span onclick="lx_pa(355748)"><img src="/img/vlm.svg" />Audioni tinglash</span><span onclick="lx_cl(355748)"><img src="/img/lnk.svg" />Hujjat elementidan havola olish</span></div></div><div name="355748" id="355748">оплачивать проживание и транспортные расходы на территории республики иностранных делегаций, прибывших в Узбекистан по официальному приглашению Агентства и подведомственных организаций, с согласия Агентства;</div></div><div class="ACT_TEXT lx_elem" onmousemove="lx_mo(event,355749)"><div class="lx_elem2"><div class="lx_elem3"><span onclick="lx_sf(355749)"><img src="/img/cmt.svg" />Hujjatga taklif yuborish</span><span onclick="lx_pa(355749)"><img src="/img/vlm.svg" />Audioni tinglash</span><span onclick="lx_cl(355749)"><img src="/img/lnk.svg" />Hujjat elementidan havola olish</span></div></div><div name="355749" id="355749">организовывать строительство и реконструкцию объектов в интересах развития инфраструктуры внешнеэкономических связей, в том числе с участием иностранных фирм, как на территории республики, так и за ее пределами;</div></div><div class="ACT_TEXT lx_elem" onmousemove="lx_mo(event,355750)"><div class="lx_elem2"><div class="lx_elem3"><span onclick="lx_sf(355750)"><img src="/img/cmt.svg" />Hujjatga taklif yuborish</span><span onclick="lx_pa(355750)"><img src="/img/vlm.svg" />Audioni tinglash</span><span onclick="lx_cl(355750)"><img src="/img/lnk.svg" />Hujjat elementidan havola olish</span></div></div><div name="355750" id="355750">осуществлять систематический контроль за рациональным использованием в системе Агентства бюджетных средств, проводить проверки и ревизии коммерческой, финансовой и хозяйственной деятельности подведомственных предприятий.</div></div><div class="ACT_TEXT lx_elem" onmousemove="lx_mo(event,355751)"><div class="lx_elem2"><div class="lx_elem3"><span onclick="lx_sf(355751)"><img src="/img/cmt.svg" />Hujjatga taklif yuborish</span><span onclick="lx_pa(355751)"><img src="/img/vlm.svg" />Audioni tinglash</span><span onclick="lx_cl(355751)"><img src="/img/lnk.svg" />Hujjat elementidan havola olish</span></div></div><div name="355751" id="355751">Агентство может иметь и иные права в соответствии с законодательством. </div></div><div class="ACT_TEXT lx_elem" onmousemove="lx_mo(event,355752)"><div class="lx_elem2"><div class="lx_elem3"><span onclick="lx_sf(355752)"><img src="/img/cmt.svg" />Hujjatga taklif yuborish</span><span onclick="lx_pa(355752)"><img src="/img/vlm.svg" />Audioni tinglash</span><span onclick="lx_cl(355752)"><img src="/img/lnk.svg" />Hujjat elementidan havola olish</span></div></div><div name="355752" id="355752">10. Агентство в пределах своих полномочий вправе принимать нормативно-правовые акты, являющиеся обязательными для министерств, государственных комитетов, ведомств, органов государственной власти на местах, предприятий, учреждений, организаций, должностных лиц и граждан.</div></div><div class="ACT_TEXT lx_elem" onmousemove="lx_mo(event,355753)"><div class="lx_elem2"><div class="lx_elem3"><span onclick="lx_sf(355753)"><img src="/img/cmt.svg" />Hujjatga taklif yuborish</span><span onclick="lx_pa(355753)"><img src="/img/vlm.svg" />Audioni tinglash</span><span onclick="lx_cl(355753)"><img src="/img/lnk.svg" />Hujjat elementidan havola olish</span></div></div><div name="355753" id="355753">Агентство вправе, в необходимых случаях, издавать с другими министерствами, государственными комитетами и ведомствами совместные постановления и иные акты.</div></div><div class="ACT_TEXT lx_elem" onmousemove="lx_mo(event,355754)"><div class="lx_elem2"><div class="lx_elem3"><span onclick="lx_sf(355754)"><img src="/img/cmt.svg" />Hujjatga taklif yuborish</span><span onclick="lx_pa(355754)"><img src="/img/vlm.svg" />Audioni tinglash</span><span onclick="lx_cl(355754)"><img src="/img/lnk.svg" />Hujjat elementidan havola olish</span></div></div><div name="355754" id="355754">11. Агентство несет ответственность за эффективное выполнение возложенных на него задач.</div></div><div class="TEXT_HEADER_DEFAULT lx_elem" onmousemove="lx_mo(event,355755)"><div class="lx_elem2"><div class="lx_elem3"><span onclick="lx_sf(355755)"><img src="/img/cmt.svg" />Hujjatga taklif yuborish</span><span onclick="lx_pa(355755)"><img src="/img/vlm.svg" />Audioni tinglash</span><span onclick="lx_cl(355755)"><img src="/img/lnk.svg" />Hujjat elementidan havola olish</span></div></div><div name="355755" id="355755">IV. Организация деятельности Агентства</div></div><div class="ACT_TEXT lx_elem" onmousemove="lx_mo(event,355756)"><div class="lx_elem2"><div class="lx_elem3"><span onclick="lx_sf(355756)"><img src="/img/cmt.svg" />Hujjatga taklif yuborish</span><span onclick="lx_pa(355756)"><img src="/img/vlm.svg" />Audioni tinglash</span><span onclick="lx_cl(355756)"><img src="/img/lnk.svg" />Hujjat elementidan havola olish</span></div></div><div name="355756" id="355756">12. Агентство возглавляет председатель, назначаемый и освобождаемый от должности в установленном законодательством порядке.</div></div><div class="ACT_TEXT lx_elem" onmousemove="lx_mo(event,355757)"><div class="lx_elem2"><div class="lx_elem3"><span onclick="lx_sf(355757)"><img src="/img/cmt.svg" />Hujjatga taklif yuborish</span><span onclick="lx_pa(355757)"><img src="/img/vlm.svg" />Audioni tinglash</span><span onclick="lx_cl(355757)"><img src="/img/lnk.svg" />Hujjat elementidan havola olish</span></div></div><div name="355757" id="355757">Председатель имеет четырех заместителей, в том числе одного первого заместителя.</div></div><div class="ACT_TEXT lx_elem" onmousemove="lx_mo(event,355758)"><div class="lx_elem2"><div class="lx_elem3"><span onclick="lx_sf(355758)"><img src="/img/cmt.svg" />Hujjatga taklif yuborish</span><span onclick="lx_pa(355758)"><img src="/img/vlm.svg" />Audioni tinglash</span><span onclick="lx_cl(355758)"><img src="/img/lnk.svg" />Hujjat elementidan havola olish</span></div></div><div name="355758" id="355758">По статусу председатель Агентства приравнивается к министру, первый заместитель и заместители председателя соответственно к первому заместителю и заместителю министра. </div></div><div class="ACT_TEXT lx_elem" onmousemove="lx_mo(event,355759)"><div class="lx_elem2"><div class="lx_elem3"><span onclick="lx_sf(355759)"><img src="/img/cmt.svg" />Hujjatga taklif yuborish</span><span onclick="lx_pa(355759)"><img src="/img/vlm.svg" />Audioni tinglash</span><span onclick="lx_cl(355759)"><img src="/img/lnk.svg" />Hujjat elementidan havola olish</span></div></div><div name="355759" id="355759">13. Председатель Агентства:</div></div><div class="ACT_TEXT lx_elem" onmousemove="lx_mo(event,355760)"><div class="lx_elem2"><div class="lx_elem3"><span onclick="lx_sf(355760)"><img src="/img/cmt.svg" />Hujjatga taklif yuborish</span><span onclick="lx_pa(355760)"><img src="/img/vlm.svg" />Audioni tinglash</span><span onclick="lx_cl(355760)"><img src="/img/lnk.svg" />Hujjat elementidan havola olish</span></div></div><div name="355760" id="355760">осуществляет на основе единоначалия общее руководство деятельностью Агентства;</div></div><div class="ACT_TEXT lx_elem" onmousemove="lx_mo(event,355761)"><div class="lx_elem2"><div class="lx_elem3"><span onclick="lx_sf(355761)"><img src="/img/cmt.svg" />Hujjatga taklif yuborish</span><span onclick="lx_pa(355761)"><img src="/img/vlm.svg" />Audioni tinglash</span><span onclick="lx_cl(355761)"><img src="/img/lnk.svg" />Hujjat elementidan havola olish</span></div></div><div name="355761" id="355761">принимает решения по вопросам, входящим в компетенцию Агентства, и несет персональную ответственность за выполнение возложенных на Агентство задач и функций;</div></div><div class="ACT_TEXT lx_elem" onmousemove="lx_mo(event,355762)"><div class="lx_elem2"><div class="lx_elem3"><span onclick="lx_sf(355762)"><img src="/img/cmt.svg" />Hujjatga taklif yuborish</span><span onclick="lx_pa(355762)"><img src="/img/vlm.svg" />Audioni tinglash</span><span onclick="lx_cl(355762)"><img src="/img/lnk.svg" />Hujjat elementidan havola olish</span></div></div><div name="355762" id="355762">распределяет обязанности между должностными лицами, устанавливает полномочия должностных лиц системы, степень ответственности должностных лиц за руководство отдельными участками деятельности Агентства и работу подведомственных организаций;</div></div><div class="ACT_TEXT lx_elem" onmousemove="lx_mo(event,355763)"><div class="lx_elem2"><div class="lx_elem3"><span onclick="lx_sf(355763)"><img src="/img/cmt.svg" />Hujjatga taklif yuborish</span><span onclick="lx_pa(355763)"><img src="/img/vlm.svg" />Audioni tinglash</span><span onclick="lx_cl(355763)"><img src="/img/lnk.svg" />Hujjat elementidan havola olish</span></div></div><div name="355763" id="355763">издает приказы и дает указания, обязательные для исполнения работниками системы Агентства;</div></div><div class="ACT_TEXT lx_elem" onmousemove="lx_mo(event,355764)"><div class="lx_elem2"><div class="lx_elem3"><span onclick="lx_sf(355764)"><img src="/img/cmt.svg" />Hujjatga taklif yuborish</span><span onclick="lx_pa(355764)"><img src="/img/vlm.svg" />Audioni tinglash</span><span onclick="lx_cl(355764)"><img src="/img/lnk.svg" />Hujjat elementidan havola olish</span></div></div><div name="355764" id="355764">вносит изменения в структуру, утверждает штатное расписание центрального аппарата Агентства в пределах установленной общей численности, а также смету расходов центрального аппарата Агентства;</div></div><div class="ACT_TEXT lx_elem" onmousemove="lx_mo(event,355765)"><div class="lx_elem2"><div class="lx_elem3"><span onclick="lx_sf(355765)"><img src="/img/cmt.svg" />Hujjatga taklif yuborish</span><span onclick="lx_pa(355765)"><img src="/img/vlm.svg" />Audioni tinglash</span><span onclick="lx_cl(355765)"><img src="/img/lnk.svg" />Hujjat elementidan havola olish</span></div></div><div name="355765" id="355765">в установленном порядке назначает на должность и освобождает от должности работников центрального аппарата Агентства, территориальных подразделений;</div></div><div class="ACT_TEXT lx_elem" onmousemove="lx_mo(event,355766)"><div class="lx_elem2"><div class="lx_elem3"><span onclick="lx_sf(355766)"><img src="/img/cmt.svg" />Hujjatga taklif yuborish</span><span onclick="lx_pa(355766)"><img src="/img/vlm.svg" />Audioni tinglash</span><span onclick="lx_cl(355766)"><img src="/img/lnk.svg" />Hujjat elementidan havola olish</span></div></div><div name="355766" id="355766">в установленном порядке утверждает положения о подразделениях центрального аппарата, управлениях по внешним экономическим связям областей и г. Ташкента и Агентстве по внешним экономическим связям Республики Каракалпакстан.</div></div><div class="ACT_TEXT lx_elem" onmousemove="lx_mo(event,355767)"><div class="lx_elem2"><div class="lx_elem3"><span onclick="lx_sf(355767)"><img src="/img/cmt.svg" />Hujjatga taklif yuborish</span><span onclick="lx_pa(355767)"><img src="/img/vlm.svg" />Audioni tinglash</span><span onclick="lx_cl(355767)"><img src="/img/lnk.svg" />Hujjat elementidan havola olish</span></div></div><div name="355767" id="355767">Председатель осуществляет иные полномочия в соответствии с законодательством.</div></div><div class="ACT_TEXT lx_elem" onmousemove="lx_mo(event,355768)"><div class="lx_elem2"><div class="lx_elem3"><span onclick="lx_sf(355768)"><img src="/img/cmt.svg" />Hujjatga taklif yuborish</span><span onclick="lx_pa(355768)"><img src="/img/vlm.svg" />Audioni tinglash</span><span onclick="lx_cl(355768)"><img src="/img/lnk.svg" />Hujjat elementidan havola olish</span></div></div><div name="355768" id="355768"></div></div><div class="COMMENT"><label id="s3934"></label><div name="edi814930" id="edi814930">См. <a href="/uz/docs/352719?ONDATE=28.08.2004 00#814929">предыдущую</a> редакцию.</div></div><div class="ACT_TEXT lx_elem" onmousemove="lx_mo(event,814930)"><div class="lx_elem2"><div class="lx_elem3"><span onclick="lx_sf(814930)"><img src="/img/cmt.svg" />Hujjatga taklif yuborish</span><span onclick="lx_pa(814930)"><img src="/img/vlm.svg" />Audioni tinglash</span><span onclick="lx_cl(814930)"><img src="/img/lnk.svg" />Hujjat elementidan havola olish</span></div></div><div name="814930" id="814930">14. В Агентстве образуется коллегия из 11 человек в составе председателя (председатель коллегии), заведующего Информационно-аналитическим департаментом по внешних связей Кабинета Министров (по согласованию), заместителей председателя, председателя Агентства по внешним экономическим связям Республики Каракалпакстан (по должности), других руководящих работников Агентства, подведомственных организаций. На заседания коллегии могут приглашаться, в случае необходимости, представители правоохранительных, финансовых органов республики и других министерств, ведомств, организаций, участвующих в пределах своей компетенции в управлении внешнеэкономическими связями Республики Узбекистан.</div></div><div class="CHANGES_ORIGINS"><label id="s1104"></label><div name="814932" id="814932">(абзац первый пункта 14 в редакции <a href="/uz/docs/504012?ONDATE=22.02.2005 00#506637">постановления</a> Кабинета Министров Республики Узбекистан от 22 февраля 2005 г. № 73 — Собрание законодательства Республики Узбекистан, 2005 г., № 8-9, ст. 67)</div></div><div class="ACT_TEXT lx_elem" onmousemove="lx_mo(event,355769)"><div class="lx_elem2"><div class="lx_elem3"><span onclick="lx_sf(355769)"><img src="/img/cmt.svg" />Hujjatga taklif yuborish</span><span onclick="lx_pa(355769)"><img src="/img/vlm.svg" />Audioni tinglash</span><span onclick="lx_cl(355769)"><img src="/img/lnk.svg" />Hujjat elementidan havola olish</span></div></div><div name="355769" id="355769">Персональный состав коллегии, по представлению Агентства по внешним экономическим связям, утверждается Кабинетом Министров Республики Узбекистан.</div></div><div class="ACT_TEXT lx_elem" onmousemove="lx_mo(event,355770)"><div class="lx_elem2"><div class="lx_elem3"><span onclick="lx_sf(355770)"><img src="/img/cmt.svg" />Hujjatga taklif yuborish</span><span onclick="lx_pa(355770)"><img src="/img/vlm.svg" />Audioni tinglash</span><span onclick="lx_cl(355770)"><img src="/img/lnk.svg" />Hujjat elementidan havola olish</span></div></div><div name="355770" id="355770">Коллегия на своих регулярно проводимых заседаниях рассматривает вопросы, связанные с:</div></div><div class="ACT_TEXT lx_elem" onmousemove="lx_mo(event,355771)"><div class="lx_elem2"><div class="lx_elem3"><span onclick="lx_sf(355771)"><img src="/img/cmt.svg" />Hujjatga taklif yuborish</span><span onclick="lx_pa(355771)"><img src="/img/vlm.svg" />Audioni tinglash</span><span onclick="lx_cl(355771)"><img src="/img/lnk.svg" />Hujjat elementidan havola olish</span></div></div><div name="355771" id="355771">деятельностью структурных подразделений центрального аппарата Агентства, Агентства по внешним экономическим связям Республики Каракалпакстан, управлений по внешним экономическим связям областей и г. Ташкента и подведомственных компаний, фирм, центров и организаций, торговых представительств, экономических советников при посольствах Республики Узбекистан;</div></div><div class="ACT_TEXT lx_elem" onmousemove="lx_mo(event,355772)"><div class="lx_elem2"><div class="lx_elem3"><span onclick="lx_sf(355772)"><img src="/img/cmt.svg" />Hujjatga taklif yuborish</span><span onclick="lx_pa(355772)"><img src="/img/vlm.svg" />Audioni tinglash</span><span onclick="lx_cl(355772)"><img src="/img/lnk.svg" />Hujjat elementidan havola olish</span></div></div><div name="355772" id="355772">утверждением в установленном порядке руководителей подразделений аппарата Агентства, председателя и заместителя председателя Агентства по внешним экономическим связям Республики Каракалпакстан, руководителей и заместителей руководителей подведомственных организаций, а также экономических советников при посольствах Республики Узбекистан за рубежом;</div></div><div class="ACT_TEXT lx_elem" onmousemove="lx_mo(event,355773)"><div class="lx_elem2"><div class="lx_elem3"><span onclick="lx_sf(355773)"><img src="/img/cmt.svg" />Hujjatga taklif yuborish</span><span onclick="lx_pa(355773)"><img src="/img/vlm.svg" />Audioni tinglash</span><span onclick="lx_cl(355773)"><img src="/img/lnk.svg" />Hujjat elementidan havola olish</span></div></div><div name="355773" id="355773">выполнением правительственных заданий и прогнозов деятельности Агентства. </div></div><div class="ACT_TEXT lx_elem" onmousemove="lx_mo(event,355774)"><div class="lx_elem2"><div class="lx_elem3"><span onclick="lx_sf(355774)"><img src="/img/cmt.svg" />Hujjatga taklif yuborish</span><span onclick="lx_pa(355774)"><img src="/img/vlm.svg" />Audioni tinglash</span><span onclick="lx_cl(355774)"><img src="/img/lnk.svg" />Hujjat elementidan havola olish</span></div></div><div name="355774" id="355774">Коллегия вправе также рассматривать другие вопросы, относящиеся к компетенции Агентства.</div></div><div class="ACT_TEXT lx_elem" onmousemove="lx_mo(event,355775)"><div class="lx_elem2"><div class="lx_elem3"><span onclick="lx_sf(355775)"><img src="/img/cmt.svg" />Hujjatga taklif yuborish</span><span onclick="lx_pa(355775)"><img src="/img/vlm.svg" />Audioni tinglash</span><span onclick="lx_cl(355775)"><img src="/img/lnk.svg" />Hujjat elementidan havola olish</span></div></div><div name="355775" id="355775">Коллегия полномочна, если на ее заседании присутствует более половины ее состава.</div></div><div class="ACT_TEXT lx_elem" onmousemove="lx_mo(event,355776)"><div class="lx_elem2"><div class="lx_elem3"><span onclick="lx_sf(355776)"><img src="/img/cmt.svg" />Hujjatga taklif yuborish</span><span onclick="lx_pa(355776)"><img src="/img/vlm.svg" />Audioni tinglash</span><span onclick="lx_cl(355776)"><img src="/img/lnk.svg" />Hujjat elementidan havola olish</span></div></div><div name="355776" id="355776">Решения по рассматриваемым вопросам принимаются простым большинством голосов. Решения коллегии проводятся в жизнь приказами председателя. </div></div><div class="ACT_TEXT lx_elem" onmousemove="lx_mo(event,355777)"><div class="lx_elem2"><div class="lx_elem3"><span onclick="lx_sf(355777)"><img src="/img/cmt.svg" />Hujjatga taklif yuborish</span><span onclick="lx_pa(355777)"><img src="/img/vlm.svg" />Audioni tinglash</span><span onclick="lx_cl(355777)"><img src="/img/lnk.svg" />Hujjat elementidan havola olish</span></div></div><div name="355777" id="355777">В случае разногласий между членами коллегии и председателем, председатель реализует свое решение. О возникших разногласиях председатель информирует Кабинет Министров Республики Узбекистан.</div></div><div class="ACT_TEXT lx_elem" onmousemove="lx_mo(event,355778)"><div class="lx_elem2"><div class="lx_elem3"><span onclick="lx_sf(355778)"><img src="/img/cmt.svg" />Hujjatga taklif yuborish</span><span onclick="lx_pa(355778)"><img src="/img/vlm.svg" />Audioni tinglash</span><span onclick="lx_cl(355778)"><img src="/img/lnk.svg" />Hujjat elementidan havola olish</span></div></div><div name="355778" id="355778">15. Агентство в установленном порядке осуществляет мероприятия по мобилизационной подготовке системы Агентства, включая подведомственные организации.</div></div><div class="ACT_TEXT lx_elem" onmousemove="lx_mo(event,355779)"><div class="lx_elem2"><div class="lx_elem3"><span onclick="lx_sf(355779)"><img src="/img/cmt.svg" />Hujjatga taklif yuborish</span><span onclick="lx_pa(355779)"><img src="/img/vlm.svg" />Audioni tinglash</span><span onclick="lx_cl(355779)"><img src="/img/lnk.svg" />Hujjat elementidan havola olish</span></div></div><div name="355779" id="355779">16. Реорганизация и ликвидация Агентства осуществляется в порядке, установленном законодательством.</div></div><div class="PUBLICATION_ORIGIN"><label id="s1089"></label><div name="355581" id="355581">(Собрание законодательства Республики Узбекистан, 2004 г., № 34-35, ст. 393; 2005 г., № 8-9, ст. 67)</div></div></div>
                                            </div>
                                        </div>
                                    </div>
                                
                                
                                
                            </div>
                        </div>
                    </div>
                </div>
            </div>
            
            <div class="lx_revive_adserver">
                

<script type='text/javascript'><!--//<![CDATA[
    var m3_u = (location.protocol == 'https:' ? 'https://rk.adolatmarkazi.uz/www/delivery/ajs.php' : 'http://rk.adolatmarkazi.uz/www/delivery/ajs.php');
    var m3_r = Math.floor(Math.random() * 99999999999);
    if (!document.MAX_used) document.MAX_used = ',';
    document.write("<scr" + "ipt type='text/javascript' src='" + m3_u);
    document.write("?zoneid=8");
    document.write('&amp;cb=' + m3_r);
    if (document.MAX_used != ',') document.write("&amp;exclude=" + document.MAX_used);
    document.write(document.charset ? '&amp;charset=' + document.charset : (document.characterSet ? '&amp;charset=' + document.characterSet : ''));
    document.write("&amp;loc=" + escape(window.location));
    if (document.referrer) document.write("&amp;referer=" + escape(document.referrer));
    if (document.context) document.write("&context=" + escape(document.context));
    document.write("'><\/scr" + "ipt>");
    //]]>--></script>

            </div>
            
        </main>
        <div class="skiptranslate">
            
<footer class="footer">
    
    <div class="footer__top">
        <div class="container">
            <div class="footer__links">
                <div class="footer__links-ads">
                    <a href="/uz/about">Markaz haqida</a>
                </div>
                <div class="footer__links-ads">
                    <a href="/uz/news">Sayt yangiliklari</a>
                </div>
                <div class="footer__links-ads">
                    <a href="/uz/adv">Saytda reklama</a>
                </div>
                <div class="footer__links-ads">
                    <a href="/uz/rss">RSS</a>
                </div>
            </div>
            
            <div class="footer__app">
                <div class="footer__app-download">
                    <a target="_blank" href="https://play.google.com/store/apps/details?id=uz.lex.mobile">
                        <img src="/assets/img/google_app.svg"></a>
                </div>
                <div class="footer__app-download">
                    <a target="_blank" href="https://apps.apple.com/us/app/lexuz/id1608798574">
                        <img src="/assets/img/app_store.png"></a>
                </div>
            </div>
            <div class="footer__icon">
                <div class="footer__icons">
                    <a target="_blank" href="https://t.me/lexuzofficial"><i class="fab fa-telegram-plane"></i></a>
                </div>
                <div class="footer__icons">
                    <a target="_blank" href="https://www.facebook.com/minjustuz"><i class="fab fa-facebook-f"></i></a>
                </div>
                <div class="footer__icons">
                    <a target="_blank" href="https://www.instagram.com/adliyanews/"><i class="fab fa-instagram-square"></i></a>
                </div>
                <div class="footer__icons">
                    <a target="_blank" href="https://www.youtube.com/c/adliya"><i class="fab fa-youtube"></i></a>
                </div>
            </div>
            <div style="float: right; top: -30px; margin-top: -44px;">
<!-- START WWW.UZ TOP-RATING -->
<SCRIPT language="javascript" type="text/javascript">
		<!--
		top_js = "1.0"; top_r = "id=4079&r=" + escape(document.referrer) + "&pg=" + escape(window.location.href); document.cookie = "smart_top=1; path=/"; top_r += "&c=" + (document.cookie ? "Y" : "N")
		//-->
</SCRIPT>
<SCRIPT language="javascript1.1" type="text/javascript">
<!--
		top_js = "1.1"; top_r += "&j=" + (navigator.javaEnabled() ? "Y" : "N")
//-->
</SCRIPT>
<SCRIPT language="javascript1.2" type="text/javascript">
<!--
		top_js = "1.2"; top_r += "&wh=" + screen.width + 'x' + screen.height + "&px=" + (((navigator.appName.substring(0, 3) == "Mic")) ? screen.colorDepth : screen.pixelDepth)
//-->
</SCRIPT>
<SCRIPT language="javascript1.3" type="text/javascript">
<!--
		top_js = "1.3";
//-->
</SCRIPT>
<SCRIPT language="JavaScript" type="text/javascript">
		<!--
		top_rat = "&col=0C57A6&t=ffffff&p=DD7900"; top_r += "&js=" + top_js + ""; document.write('<a href="https://www.uz/rus/toprating/cmd/stat/id/4079" target="_blank"><img src="https://www.uz/plugins/top_rating/count/cnt.png?' + top_r + top_rat + '" width=88 height=31 border=0 alt="Топ рейтинг www.uz"></a>')//-->
</SCRIPT>
<NOSCRIPT>
		<A href="https://www.uz/rus/toprating/cmd/stat/id/4079" target="_blank">
				<img height="31" src="https://www.uz/plugins/top_rating/count/nojs_cnt.png?id=4079&pg=http%3A//lex.uz&col=0C57A6&t=ffffff&p=DD7900" width="88" border="0" alt="Топ рейтинг www.uz">
		</A>
</NOSCRIPT>
<!-- FINISH WWW.UZ TOP-RATING --></div>
            
        </div>
    </div>
    
    <div class="footer__bottom">
        <div class="container">
            <div class="footer__bottom-desc">&copy; O‘zbekiston Respublikasi Adliya vazirligi qoshidagi “Adolat” milliy huquqiy axborot markazi davlat muassasasi</div>
        </div>
    </div>
</footer>
<div id="lx_alert" style="display: none;">
    <div class="lx_alert_content">
        <div class="lx_alert_body">
            <div id="lx_alert_message"></div>
        </div>
        <div class="lx_alert_footer">
            <button id="lx_alert_close" type="button" class="btn btn-primary" onclick="lxCloseAlert();">Yopish</button>
        </div>
    </div>
</div>
<span id="lx_btn_up" onclick="lx_btn_up_top()" title="">
    <svg viewBox="0 0 512 512">
        <path fill="currentColor" d="M256 504c137 0 248-111 248-248S393 8 256 8 8 119 8 256s111 248 248 248zm0-448c110.5 0 200 89.5 200 200s-89.5 200-200 200S56 366.5 56 256 145.5 56 256 56zm20 328h-40c-6.6 0-12-5.4-12-12V256h-67c-10.7 0-16-12.9-8.5-20.5l99-99c4.7-4.7 12.3-4.7 17 0l99 99c7.6 7.6 2.2 20.5-8.5 20.5h-67v116c0 6.6-5.4 12-12 12z"></path></svg>
</span>

        </div>
        <div id="lx_md_send_feedback" class="modal" tabindex="-1" role="dialog">
            <div class="modal-dialog" role="document" style="max-width: 40rem; max-height: 90vh;">
                <div class="modal-content">
                    <div class="modal-header" style="display: block;">
                        <button type="button" class="close" data-dismiss="modal" aria-label="Close">
                            <span aria-hidden="true">&times;</span>
                        </button>
                        <h3 class="modal-title">Hujjatga taklif yuborish</h3>
                    </div>
                    <div class="modal-body">
                        <div class="form-group">
                            <select class="lx_select2_filter select2 form-control" id="lx_feedback_type" onchange="feedback_type_changed(this)">
                                <option value="" selected>Taklif turini tanlang</option>
                                <option value="1">Hujjatga taklif</option>
                                <option value="2">Texnik xatolik</option>
                            </select>
                        </div>
                        <div class="form-group">
                            <input id="lx_feedback_from" type="text" class="form-control" placeholder="Familiyasi, ismi, sharifi" />
                        </div>
                        <div class="form-group row">
                            <div class="col-6">
                                <input id="lx_feedback_phone" type="text" class="form-control" placeholder="Telefon" />
                            </div>
                            <div class="col-6">
                                <input id="lx_feedback_email" type="text" class="form-control" placeholder="Email" />
                            </div>
                        </div>
                        <div class="form-group">
                            <textarea id="lx_feedback_text" class="form-control" rows="7" maxlength="2000" style="resize: vertical; max-height: 600px;" placeholder="Matn"></textarea>
                        </div>
                        <div class="form-group">
                            <div class="custom-control custom-checkbox mb-2">
                                <input class="custom-control-input" id="lx_feedback_legis" type="checkbox" onchange="lx_feedback_legis_changed(this)">
                                <label class="custom-control-label" for="lx_feedback_legis">Qonunchilikka taklif berish <a href="https://lex.uz/" target="_blank" style="color:#0064a9">qoidalari</a> bilan tanishdim</label>
                            </div>
                        </div>
                    </div>
                    <div class="modal-footer" id="sendFeedback_group" style="display: none;">
                        <div id="dvCaptcha2"></div>
                        <input type="hidden" id="captcha_res2" />
                        <button type="button" class="btn btn-success" id="btn_sendFeedbackToDb" style="display: none;" onclick="sendFeedbackToDb(352719, 4);">Jo‘natish</button>
                        <button type="button" class="btn btn-danger" id="btn_sendFeedbackCancel" data-dismiss="modal">Bekor qilish</button>
                    </div>
                </div>
            </div>
        </div>
        <div class="modal fade" id="modalShowCard" tabindex="-1" role="dialog" aria-hidden="true" style="z-index: 9000;">
            <div class="modal-dialog" style="margin: 0;">
                <div class="modal-content" style="background: #eee; width: 90vw; height: 92vh; left: 5vw; top: 4vh;">
                    <div class="modal-header" style="padding: 0 4px 0 0; display: block;">
                        <button type="button" class="close" data-dismiss="modal" style="margin: 0">&times;</button>
                    </div>
                    <div class="modal-body" style="padding: 0 4px; margin: 0;">
                        <iframe id="iframeShowCard" style="width: 100%; height: 100%; border: none;"></iframe>
                    </div>
                </div>
            </div>
        </div>
        <button id="lxPlayButton"></button>
        <button id="lxPlayLang" style="display: none">1</button>
        
        <script type="text/javascript">
            function googleTranslateElementInit() {
                new google.translate.TranslateElement({
                    pageLanguage: 'ru',
                    includedLanguages: 'sq,ar,hy,az,be,bn,bg,zh-CN,zh-TW,hr,cs,da,et,tl,fi,fr,ka,de,el,iw,hi,hu,is,id,it,ja,kk,ko,ky,lv,lt,ms,mn,no,ps,fa,pl,pt,ro,sr,sk,sl,es,sw,sv,tg,tt,th,tr,tk,uk,ur,ug,vi,en,uz',
                    layout: google.translate.TranslateElement.InlineLayout.SIMPLE
                }, 'google_translate_element');
            }
        </script>
        <script type="text/javascript" defer src="//translate.google.com/translate_a/element.js?cb=googleTranslateElementInit"></script>
        
        <script>
            const htmldark = document.getElementsByTagName('html')[0];

            if (localStorage.getItem("themes") === "light") {
                htmldark.dataset.theme = 'light';
            }
            else if (localStorage.getItem("themes") === "grey") {
                htmldark.dataset.theme = 'grey';
            }
            else if (localStorage.getItem("themes") === "dark") {
                htmldark.dataset.theme = 'dark';
            }
            const toggleTheme = (theme) => {
                htmldark.dataset.theme = theme;
                localStorage.setItem("themes", theme);
            }
        </script>
        <script>            
            
            $(document).ready(function () {
                document.getElementById('lx_var_b').innerHTML = document.getElementById('lx_var_t').innerHTML;
            });
            
        </script>
        <script type="text/javascript">
            
            $("#docContent__sideBar-show").click(function () {
                if ($("body").hasClass("sidebar-show")) {
                    $("body").removeClass("sidebar-show")
                }
                else {
                    $("body").addClass("sidebar-show")
                }
            })
            
        </script>
    </div>
    <div style="display: none;"></div>
</body>
</html>

<script>
    function changeScrollType(obj) {
        if ($(obj)["0"].checked) {
            scrollIndependent();
        }
        else {
            scrollCommon();
        }
    }

    function scrollCommon() {
        $('#lang1').css('overflow', 'auto');
        $(".lang1, .lang2").removeAttr('overflow');
        $(".lang1, .lang2").css('overflow', 'hidden');
        $(".lang1, .lang2").css('height', 'auto');
        $(".lang1, .lang2").css('padding-right', '0');
        $("body").css('overflow', 'auto');
    }

    function scrollIndependent() {
        $('#actPage').removeAttr('overflow');
        $(".lang1, .lang2").css('height', ($(window).height() - 38) + "px");
        $(".lang1, .lang2").css('overflow', 'auto');
        $(".lang1, .lang2").css('padding-right', '5px');
        $("body").css('overflow', 'hidden');
    }

    function clickAllChk(item_id, chk, pref1, pref2) {
        $.each($('#' + pref1 + '_dropdown_check').find("INPUT[type='checkbox']"), function () {
            if ($(this).attr('id') != item_id) {
                $(this).prop('checked', chk.checked);
                if (!chk.checked) {
                    $.each($('div').find('#s' + $(this).attr('id').substring(2)), function () { $(this).parent().hide(); });
                }
                else {
                    $.each($('div').find('#s' + $(this).attr('id').substring(2)), function () { $(this).parent().show(); });
                }
            }
        });

        $.each($('#' + pref2 + '_dropdown_check').find("INPUT[type='checkbox']"), function () {
            $(this).attr('checked', chk.checked);
        });
    }

    function hideItem(chk) {
        var chk_id = chk.id.substring(2);
        if (!chk.checked) {
            $.each($('div').find('#s' + chk_id), function () {
                $(this).parent().hide();
            });
        }
        else {
            $.each($('div').find('#s' + chk_id), function () { $(this).parent().show(); });
        }
    }

    var showLexComments = false;

    function toggleLexComments() {
        if (showLexComments) {
            showLexComments = false;
            $("#t_btn_lex_comment").removeClass("active")
            $("#b_btn_lex_comment").removeClass("active")
            $.each($('div').find('#s527'), function () { $(this).parent().hide(); });
        }
        else {
            showLexComments = true;
            $("#t_btn_lex_comment").addClass("active")
            $("#b_btn_lex_comment").addClass("active")
            $.each($('div').find('#s527'), function () { $(this).parent().show(); });
        }
    }

    function scrollText(hash) {
        if (!hash) {
            window.scrollTo(0, 0);
            return;
        }
        history.pushState(null, '', '#' + hash);
        scrollToHash(hash);
    }

    function scrollToHash(hash, smooth = false) {
        const target = document.getElementById(hash);
        if (!target) return;
        const iframe = document.querySelector('.skiptranslate iframe');
        const iframeHeight = iframe ? iframe.offsetHeight : 0;
        const header = document.getElementById("doc_header");
        const headerHeight = header ? header.offsetHeight : 0;
        const y = target.getBoundingClientRect().top + window.pageYOffset - iframeHeight - headerHeight - 4;
        if (smooth) {
            setTimeout(() => { window.scrollTo(0, y); }, 100);
        } else {
            window.scrollTo(0, y);
        }
    }

    window.onload = function () {
        if (window.location.hash) {
            scrollToHash(window.location.hash.substring(1), true);
        }
    };

    window.addEventListener('hashchange', function () {
        if (window.location.hash) {
            scrollToHash(window.location.hash.substring(1));
        }
    });

    $(document).ready(function () {
        $('#search-criteria').on('input', function (e) {
            var txt = $('#search-criteria').val().toUpperCase();
            if (txt.length > 0) {
                $('.docNabvar__child').each(function () {
                    $(this).addClass('toc_show');
                });
                $('.search-text').each(function () {
                    var elem = $(this).closest('.search-toggle');
                    elem.removeClass('toc_show');
                    elem.removeClass('toc_hide');
                    if ($(this).text().toUpperCase().indexOf(txt) != -1) {
                        elem.addClass('toc_show');
                    } else {
                        elem.addClass('toc_hide');
                    }
                });
            }
            else {
                clearSearch();
            }
        });
    });

    function clearSearch() {
        $('#search-criteria').val('');
        $('.toc_show').each(function () {
            $(this).removeClass('toc_show');
        });
        $('.toc_hide').each(function () {
            $(this).removeClass('toc_hide');
        });
    }
</script>
<script>
    function addToFavorite() {
        $.ajax({
            type: "POST",
            url: "/pages/ajax_methods2.aspx",
            cache: false,
            data: {
                "action": "addToFavorite",
                "lact_id": "352719",
                "lang": "4"
            },
            success: function (data) {
                var kvp = JSON.parse(data);
                lxAlert(kvp.message);
            },
            error: function () {
                lxAlert("Saqlashda xatolik!");
            }
        });
    }

    function showAddCard(tcard) {
        if (tcard < 1 || tcard > 6) {
            return;
        }

        $('#add_info').val('0').trigger('change');

        if (tcard == "1") {
            showIframeCard('/uz/actinfo/card1/352719');
        }
        else if (tcard == "2") {
            showIframeCard('/uz/actinfo/card2/352719');
        }
        else if (tcard == "3") {
            showIframeCard('/uz/actinfo/basrev/352719');
        }
        else if (tcard == "4") {
            showIframeCard('/uz/actinfo/revhis/352719');
        }
        else if (tcard == "5") {
            showIframeCard('/uz/actinfo/correspondents/352719');
        }
        else if (tcard == "6") {
            showIframeCard('/uz/actinfo/respondents/352719');
        }
    }

    function showIframeCard(_url) {
        $("#iframeShowCard").attr("src", _url);
        $('#modalShowCard').modal('show');
    }

    $('#modalShowCard').on('hidden.bs.modal', function () {
        $("#iframeShowCard").attr("src", "about:blank");  // clear after close
    });

    $(document).ready(function () {
        
    });
</script>
<script type="text/javascript">
    function downloadDoc() {
        window.location.href = "/uz/docs/352719?type=doc";
    }

    function openTwoLang(lang_id) {
        window.location.href = "/uz/docs/352719?otherlang=" + lang_id;
    }
</script>
<script>
    function lx_pa(elem_id) { lx_audio.playAudioByElemId(elem_id); }
    function lx_mo(e, elem_id) { lx_audio.moveElement(e, elem_id); }
    function a(event, word) { lx_def.showDef(event, '1', word); }
    function lx_cl(elem_id) {
        const link = window.location.origin + window.location.pathname + window.location.search + '#' + elem_id;
        navigator.clipboard.writeText(link)
            .then(() => {
                Swal.fire({
                    title: 'Havola olindi',
                    text: link,
                    confirmButtonText: "Yopish"
                });
            })
            .catch(err => {
                Swal.fire({
                    title: 'Error',
                    text: 'Failed to copy',
                    confirmButtonText: "Yopish"
                });
            });
    }
    async function lx_bm(elem_id) {
        const link = window.location.pathname + window.location.search + '#' + elem_id;
        try {
            const lang_id = 4;
            const response = await fetch('/Pages/GetPage.aspx/SaveBookmark', {
                method: "POST",
                headers: { "Content-Type": "application/json" },
                body: JSON.stringify({ lang_id, link }),
            });
            if (response.ok) {
                const result = (await response.json()).d;
                lxAlert(result);
            } else {
                lxAlert('Texnik xatolik');
            }
        }
        catch (error) {
            lxAlert('Texnik xatolik');
        }
    }
</script>
<script>
    var dvCaptcha2;

    var onloadCallback = function () {
        dvCaptcha2 = grecaptcha.render('dvCaptcha2', {
            'sitekey': '6Lc4eUoUAAAAADW-S-YIn_F1v9K-G6154fgrBmQq',
            'callback': function (response) {
                $("[id*=captcha_res2]").val(response);
                $('#btn_sendFeedbackToDb').show();
                $('#btn_sendFeedbackCancel').hide();
            }
        });
    };

    var _elem_id;

    function lx_sf(elem_id) { // added to xml
        sendFeedback(elem_id);
    }

    function sendFeedback(elem_id) {
        _elem_id = elem_id;
        grecaptcha.reset(dvCaptcha2);
        $('#lx_feedback_from').val('');
        $('#lx_feedback_text').val('');
        $('#lx_feedback_phone').val('');
        $('#lx_feedback_email').val('');
        $('#captcha_res2').val('');
        $('#btn_sendFeedbackToDb').hide();
        $('#lx_md_send_feedback').modal({
            backdrop: 'static',
            keyboard: true
        });
        $('#lx_feedback_type').val('').trigger('change');
        $('#lx_feedback_legis').prop('checked', false).trigger('change');
    }

    function feedback_type_changed(sel) {
        if (sel.value == '1') {
            $('#lx_feedback_phone').show();
            $('#lx_feedback_email').show();
        }
        else {
            $('#lx_feedback_phone').hide();
            $('#lx_feedback_email').hide();
        }
    }

    function lx_feedback_legis_changed(checkbox) {
        if (checkbox.checked) {
            $('#sendFeedback_group').show();
        } else {
            $('#sendFeedback_group').hide();
        }
    }

    function sendFeedbackToDb(lact_id, lang_id) {
        var feedback_from = $('#lx_feedback_from').val().trim();
        var feedback_text = $('#lx_feedback_text').val().trim();
        var feedback_type = $('#lx_feedback_type').val().trim();
        var feedback_phone = $('#lx_feedback_phone').val().trim();
        var feedback_email = $('#lx_feedback_email').val().trim();
        var captcha_result = $('#captcha_res2').val();

        if (feedback_type != '1' && feedback_type != '2') {
            lxAlert('Taklif turini tanlang!');
        }
        else if (feedback_from.length < 3 || feedback_from.length > 100) {
            lxAlert('Familiyasi, ismi, sharifi!');
        }
        else if (feedback_text.length < 10) {
            lxAlert('Ma’lumot to‘liq kiritilmagan!');
        }
        else if (feedback_text.length > 2000) {
            lxAlert('Матн 2000 ҳарфдан кўп!')
        }
        else if (feedback_phone.length > 20) {
            lxAlert('Telefon!');
        }
        else if (feedback_email.length > 30) {
            lxAlert('Email!');
        }
        else {
            $.ajax({
                type: "POST",
                url: "/pages/ajax_methods2.aspx",
                data: {
                    'action': 'sendfeedback',
                    'lact_id': lact_id,
                    'lang_id': lang_id,
                    'element_id': _elem_id,
                    'feedback_from': encodeHtmlEntities(feedback_from),
                    'feedback_text': encodeHtmlEntities(feedback_text),
                    'feedback_type': encodeHtmlEntities(feedback_type),
                    'feedback_phone': encodeHtmlEntities(feedback_phone),
                    'feedback_email': encodeHtmlEntities(feedback_email),
                    'captcha_result': captcha_result
                },
                success: function (data) {
                    $('#lx_feedback_from').val('');
                    $('#lx_feedback_text').val('');
                    $('#lx_feedback_type').val('');
                    $('#lx_feedback_phone').val('');
                    $('#lx_feedback_email').val('');
                    $('#captcha_res2').val('');
                    $('#btn_sendFeedbackToDb').hide();
                    $('#lx_md_send_feedback').modal('hide');
                    lxAlert(data);
                },
                error: function () {
                    $('#captcha_res2').val('');
                    $('#btn_sendFeedbackToDb').hide();
                    grecaptcha.reset(dvCaptcha2);
                    lxAlert('Saqlashda xatolik!');
                }
            });
        }
    }

    function encodeHtmlEntities(str) {
        return String(str).replace(/&/g, '&amp;')
            .replace(/</g, '&lt;')
            .replace(/>/g, '&gt;')
            .replace(/"/g, '&quot;')
            .replace(/'/g, '&#39;');
    }
</script>
<script>
    $('.stopProp').click(function (e) {
        e.stopPropagation();
    });
    function openUrl(url) {
        location.href = url;
    }
    function openInNew(url) {
        window.open(url, "_blank");
    }
    if ("" == "print") {
        $(document).ready(function () {
            window.print();
        });
    }
</script>
<script>
    let lxCompNotEqualId = 0;
    function lxCompNext() {
        if (lxCompNotEqualId < 0) {
            lxCompNotEqualId++;
            scrollText('d_' + lxCompNotEqualId);
        }
    }
    function lxCompPrev() {
        if (lxCompNotEqualId > 1) {
            lxCompNotEqualId--;
            scrollText('d_' + lxCompNotEqualId);
        }
    }
</script>
